EasyManua.ls Logo

SPM A2011 - Measuring Vibration

SPM A2011
85 pages
Print Icon
To Next Page IconTo Next Page
To Next Page IconTo Next Page
To Previous Page IconTo Previous Page
To Previous Page IconTo Previous Page
Loading...
63
Technical data are subject to change without notice.
ISO 9001 certified. © Copyright SPM 1996-9. 71416.B
SPM Instrument AB Box 4 S-645 21 Strängnäs Sweden
Tel +46 152 22500 Fax +46 152 15075 info@spminstrument.se www.spminstrument.se
Measuring Vibration
If a fan is out of balance, it will shake at its speed of
rotation, i.e. move backwards and forwards once per
revolution. The number of vibrations per time unit is
the vibration frequency, measured in Hz (Hertz = cy-
cles per second).
The rotational speed of any piece of plant is known as
its fundamental frequency. For a fan with a speed of
1500 rpm, the fundamental frequency is 25 Hz (1500
rpm / 60 seconds).
In practice, machine vibration usually consists of many
different frequency components. For a general as-
sessment of machine condition one uses wide fre-
quency band measurements, that is all vibrations
within a large frequency range are measured simulta-
neously.
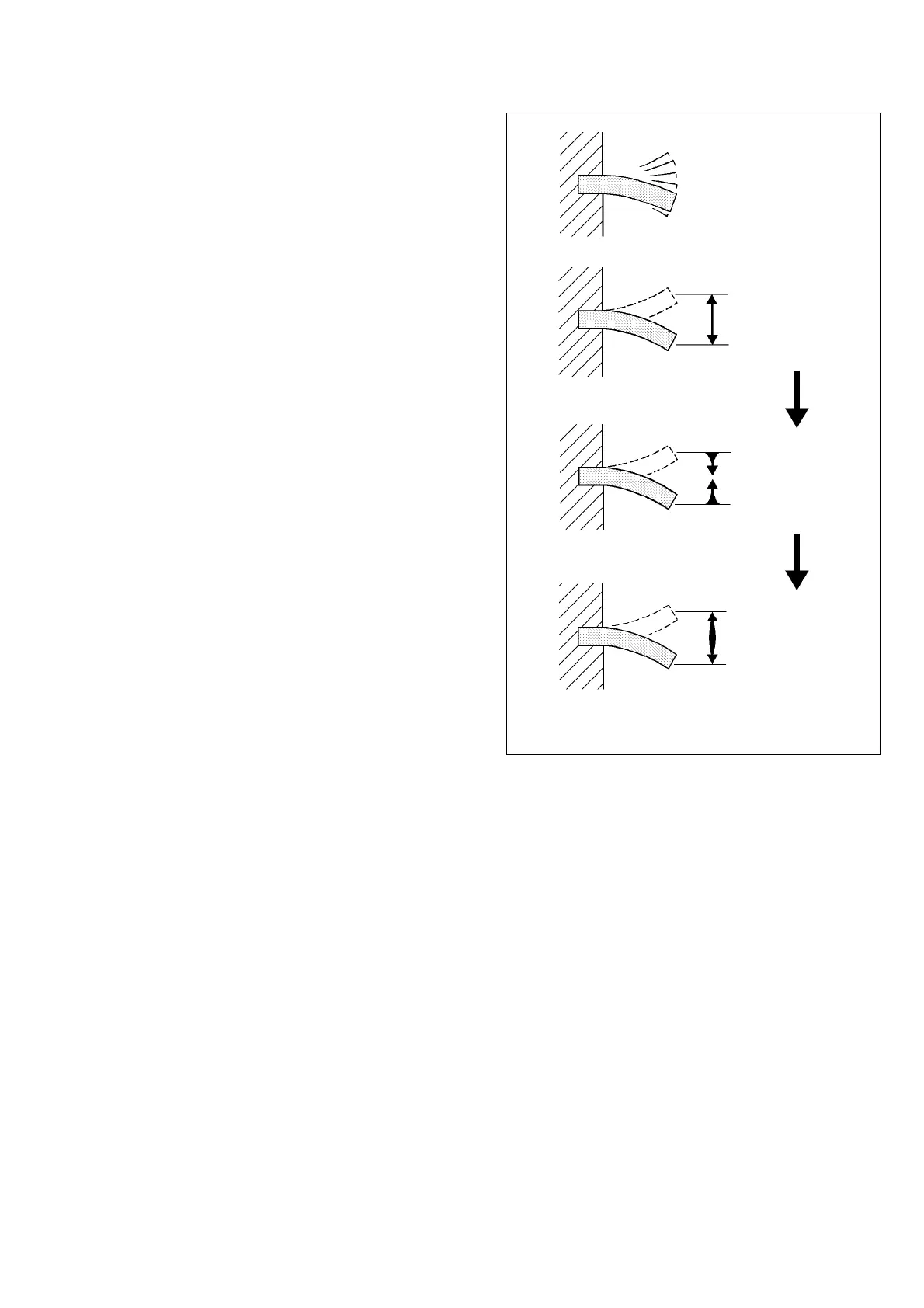
Cyclic movement can be measured and described in
three different ways, as displacement, acceleration,
or velocity.
Displacement means the actual distance the object
moves, usually measured in mm.
A part that is moving from rest, speeding up, slowing
down and stopping twice per cycle is accelerating and
decelerating continuously. Acceleration is measured
in g (1 g = 9.81 m/s
2
).
The third measuring parameter is the speed at which
the object moves, the vibration velocity. Velocity is
expressed in mm/s (in/s when imperial units are used).
Both acceleration and speed are constantly changing.
One can measure a peak value of either, but a mean
value often gives a better indication of the forces
involved in the movement. Most instruments measure
the RMS value (root mean square value) of the move-
ment.
Experience has shown, that the RMS level of vibration
velocity, measured over a frequency range of 10 to
1000 Hz, is most useful for general assessment of
machine condition. The technical term used is vibra-
tion severity, defined as above and displayed in mm/
s (or in/s) on the instrument.
Vibration severity is directly related to the energy
level of machine vibration, and thus a good indicator
of the destructive forces acting on the machine.
ISO Recommendation 2372
The essence of ISO recommendation 2372 is:
1 it states that vibration severity readings are useful
for a general assessment of machine condition.
2 it divides industrial machines into six vibration
classes and provides limit values for good, ac-
ceptable, tolerable, and bad condition.
The A2011 is based on this recommendation, with the
exception that both good and acceptable condition
together are indicated on the green field of the condi-
tion scale.
Frequency
Hz
+
Amplitude
mm
Acceleration
mm / s
2
Velocity
mm / s
Fig. 4

Table of Contents

Related product manuals