EasyManua.ls Logo

ST ST7 - 2 How Does a Typical Microcontroller Work

ST ST7
317 pages
Print Icon
To Next Page IconTo Next Page
To Next Page IconTo Next Page
To Previous Page IconTo Previous Page
To Previous Page IconTo Previous Page
Loading...
19/317
2 - How does a typical microcontroller work?
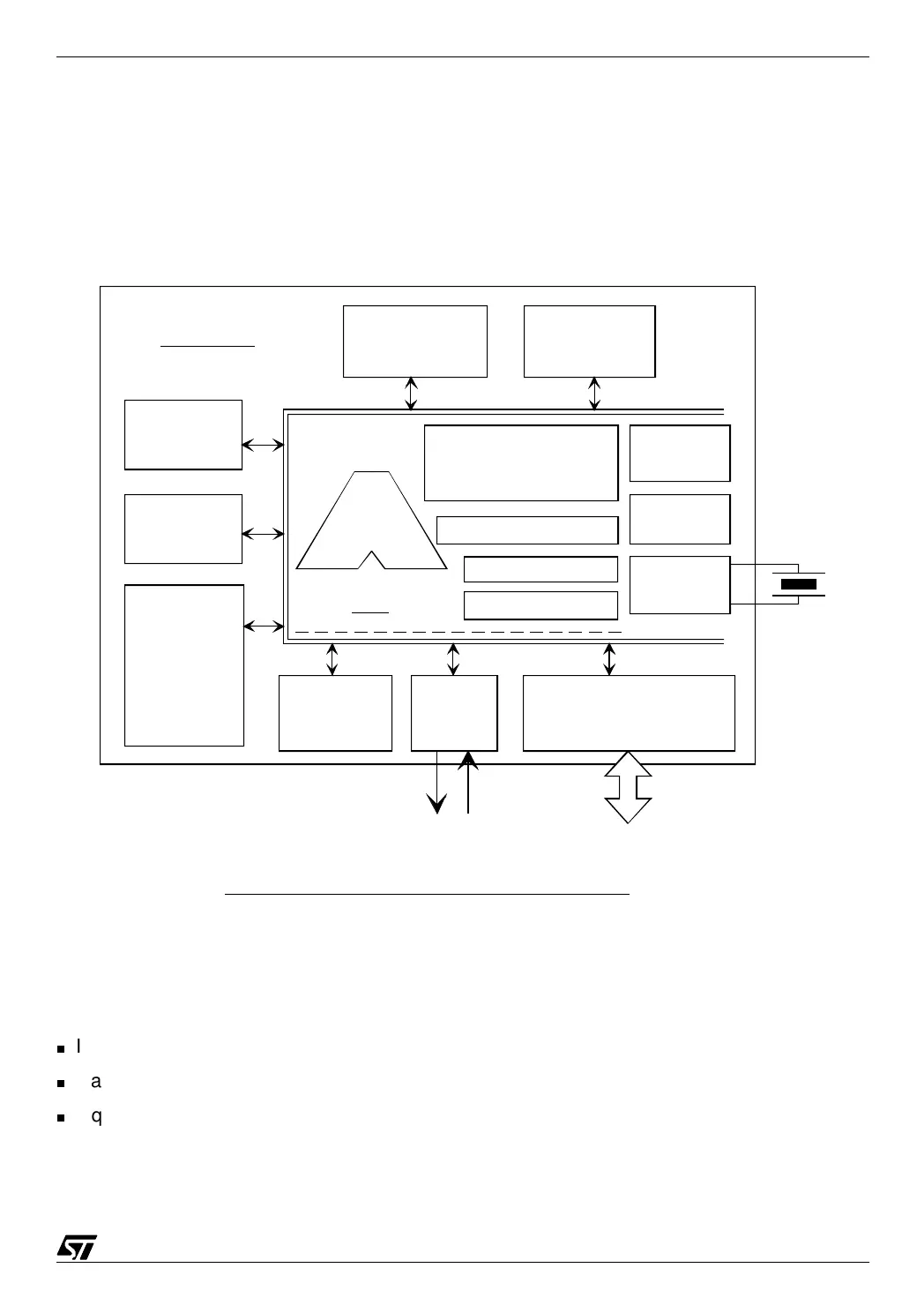
2 HOW DOES A TYPICAL MICROCONTROLLER WORK?
There is a wide range of microcontrollers available on the market. They differ in their compu-
tational power, their internal organization, the number of their inputs and outputs, the type of
peripherals they provide. However, a microcontroller is always a complete system on a chip
that includes a core connected to some memory and surrounded by peripherals. A typical
block diagram of a microcontroller is the following:
02-basic
The peripherals shown here are only the most common that one can find in a microcontroller.
Other peripherals, designed for special tasks or communication protocols, may be found as
well. Let us mention just a few:
I
2
Cserialinterface
Radio Data System decoder
Liquid Crystal Display interface, etc.
We shall gain an overview of the main blocks in the remainder of this chapter.
general purpose and
dedicated registers,
accumulators
instructions decoder
program counter
stack
reset
generator
clock
generator
arithmetic
and logic unit
interrupt
controller
core
watchdog
timer
multifonction
timer(s)
EEPROM
internal
RAM
internal
ROM
(EPROM)
peripherals
serial
interface
parallel input / output
ports
communication with the outer world of the microcontroller
analog to
digital
converter
xtal
internal buses
Typical block diagram of a microcontroller

Table of Contents

Related product manuals