EasyManua.ls Logo

TDK-Lambda Genesys Series - Read the Standard Event Status Event Register

TDK-Lambda Genesys Series
70 pages
Print Icon
To Next Page IconTo Next Page
To Next Page IconTo Next Page
To Previous Page IconTo Previous Page
To Previous Page IconTo Previous Page
Loading...
50
8303460000 Rev A IA672-04-01-Rev. I
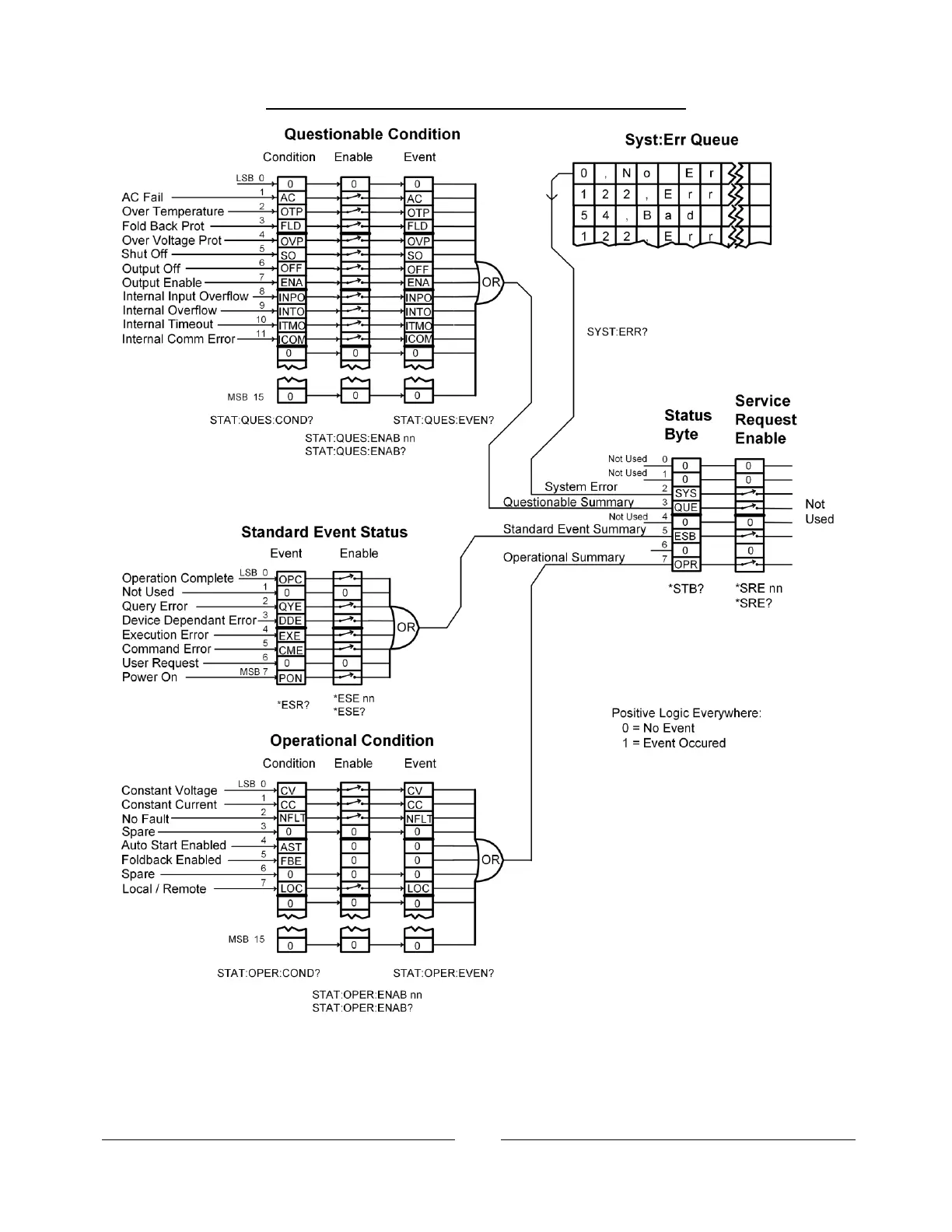
THE IEEE-488.2 ERROR AND STATUS REGISTERS
Figure 7. Error and Status Registers

Table of Contents

Other manuals for TDK-Lambda Genesys Series

Related product manuals