EasyManua.ls Logo

TGW NBC - Page 60

Default Icon
129 pages
Print Icon
To Next Page IconTo Next Page
To Next Page IconTo Next Page
To Previous Page IconTo Previous Page
To Previous Page IconTo Previous Page
Loading...
NBC™ Flat Belt - IOM
P/N: 1118140 Rev: 07/29/2020 Page 60 of 129
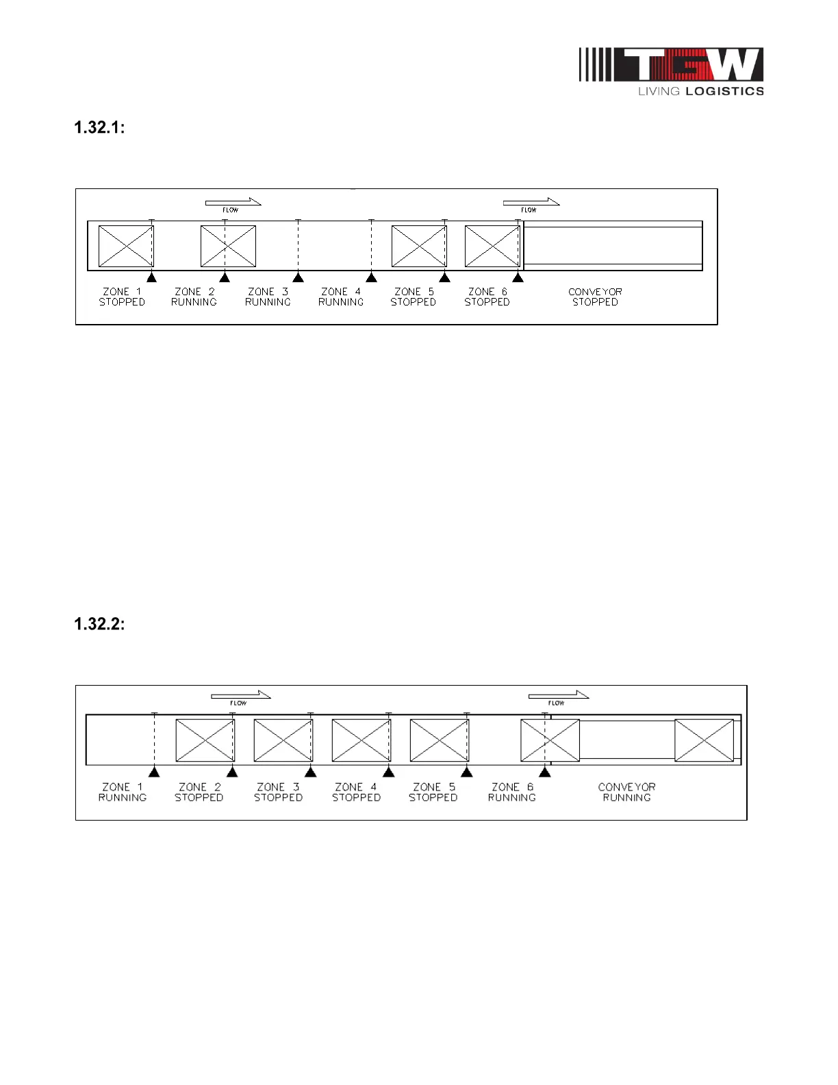
Basic Logic Operation
Basic Logic functions such that when any two successive photoelectric sensors are blocked, the
upstream zone is set to accumulate (stop driving).
In the above example:
The discharge zone, Zone 6, is shown stopped, signifying that release from the zone is being
inhibited and the Zone 6 sensor is blocked.
When the Zone 6 sensor AND the Zone 5 sensor is blocked Zone 5 will stop running.
Zone 4 and Zone 3 sensors are not blocked, and the zones are running.
Zone 2 sensor is blocked, but the zone is running because the Zone 3 sensor is NOT blocked.
Zone 1 is not driving because both Zone 1 AND Zone 2 sensors are blocked.
NOTE:
(Basic Logic) Products being transported on accumulation conveyor are separated by a gap of one
zone length upon release. This will reduce the transportation throughput capacity of the conveyor. The
rate at which product is introduced onto an accumulation conveyor of this type must not exceed the
transportation rate of the conveyor.
Discharge from Basic Logic
A release signal given to the Zone 6 Logic Assembly releases product from that zone. As released
product clears the electronic sensor, the product stopped at the next upstream zone is driven forward.
This will create a one-zone length gap between all released products; assuming conveyor speeds
(accumulation conveyor and downstream conveyor) are identical.
NOTE:
If the accumulation logic is set to Slug Release instead of Singulation Release, all affected zones will
run, resulting in the release of product with little or no gaps. This overrides the normal Basic Logic
function.

Table of Contents

Other manuals for TGW NBC

Related product manuals