EasyManua.ls Logo

Thermo Scientific 310 - Page 73

Thermo Scientific 310
86 pages
Print Icon
To Next Page IconTo Next Page
To Next Page IconTo Next Page
To Previous Page IconTo Previous Page
To Previous Page IconTo Previous Page
Loading...
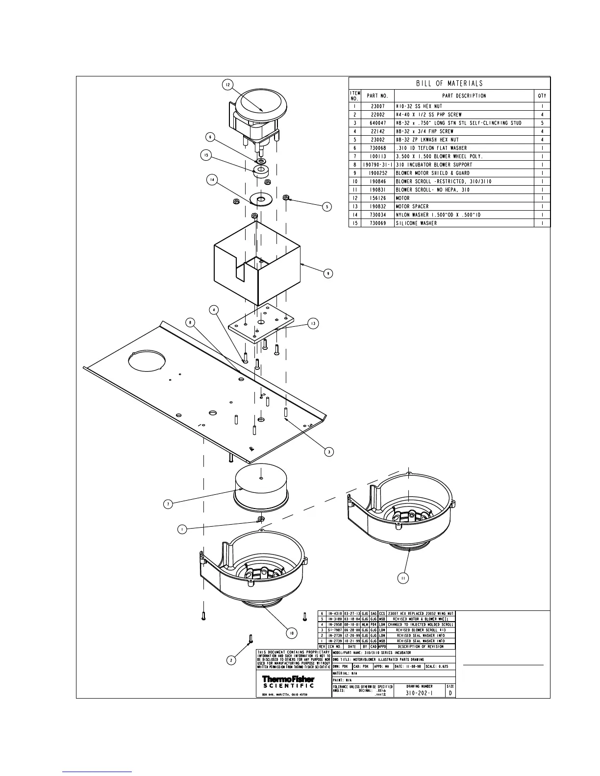
8-4 Model 310 Series DH Incubator Thermo Scientific
Section 8
Spare Parts
Assembly Drawing
Model:
310/3110 Series
CO Incubator
310-202-1-D Rev. 6
Page 1 of 1
2

Table of Contents

Related product manuals