EasyManua.ls Logo

TOHO TTM-i4N - Operating Amout Limiter Upper Limit for OUT2; Operating Amout Limiter Lower Limit for OUT2

TOHO TTM-i4N
74 pages
Print Icon
To Next Page IconTo Next Page
To Next Page IconTo Next Page
To Previous Page IconTo Previous Page
To Previous Page IconTo Previous Page
Loading...
45
Operating amout limiter upper limit for OUT2
Character
Name
Description
Initial Value
1
SET3
CNT
Setting Mode Selection
Screen
Control Parameter Mode
Settings about Control
29
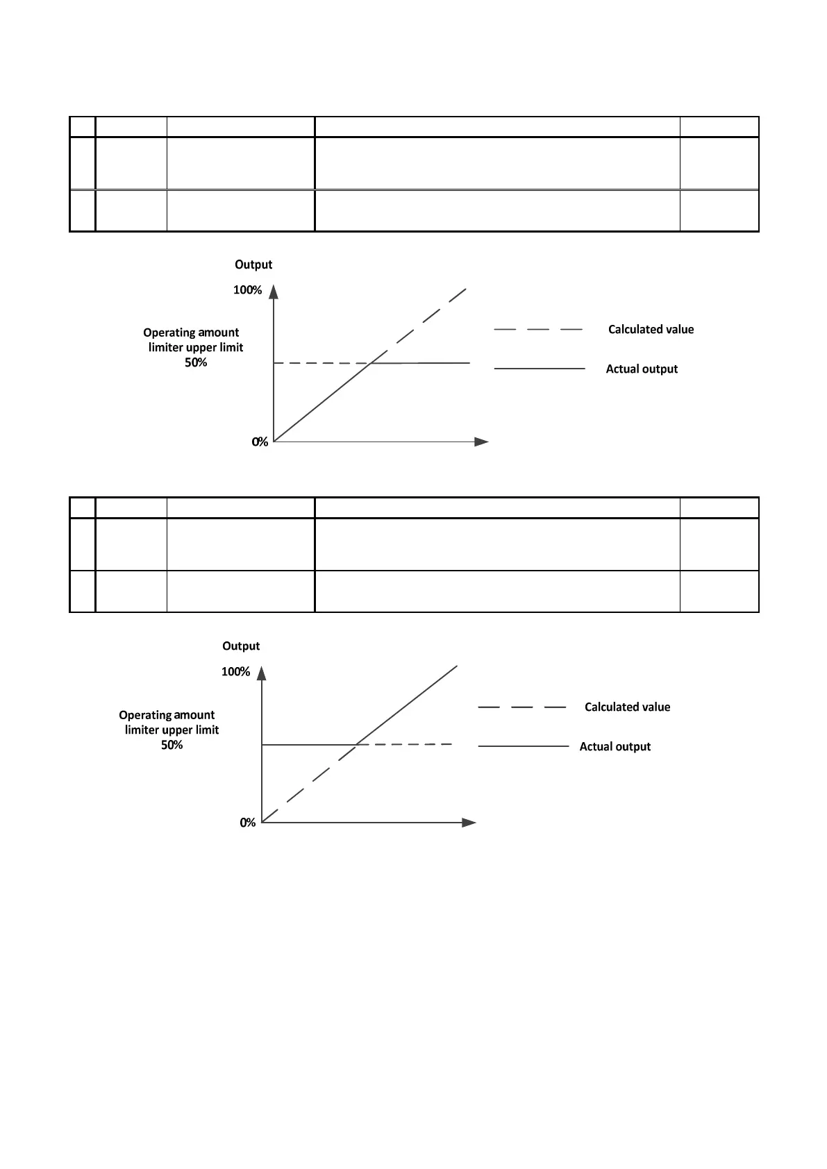
MLH2
Operating amout limiter
upper limit for OUT2
Setting Range:MLL2–100.0
Setting Unit: %
1000
It provides a maximum limit for the manipulated variable that was calculated.
Operating amout limiter lower limit for OUT2
Character
Name
Description
Initial Value
1
SET3
CNT
Setting Mode Selection
Screen
Control Parameter Mode
Settings about Control
30
MLL2
Operating amout limiter
lower limit for OUT2
Setting Range: 0.0-MLH2
Setting Unit:
00
It provides a minimum limit for the manipulated variable that was calculated.

Table of Contents