EasyManua.ls Logo

TOHO TTM-i4N - Change to Blind Setting Mode

TOHO TTM-i4N
74 pages
Print Icon
To Next Page IconTo Next Page
To Next Page IconTo Next Page
To Previous Page IconTo Previous Page
To Previous Page IconTo Previous Page
Loading...
68
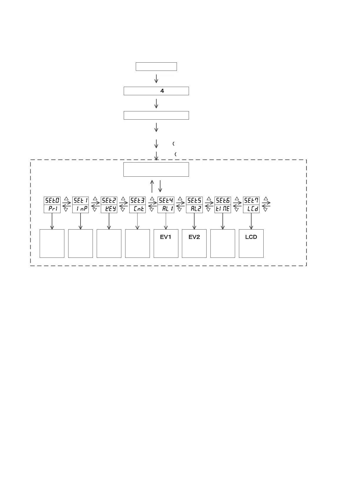
6.4.10 Change to Blind Setting Mode
Power on
initial display( seconds)
RUN mode
After power on, “Input Type Screen” appears for 4
sec, then it will proceed to “Operation Mode ”.
M key 10 seconds
Indication disappears momentarily
F key Press for once)
M key Press for once)
RUN mode
M key 2 seconds
Priority
screen
setting
mode
Input
setting
mode
Key
function
setting
mode
Control
setting
mode
setting
mode
setting
mode
Timer
setting
mode
setting
mode
M key M key M key M key M key M key M key M key
to SET0
Blind setting mode
When Blind Mode is ON, “ON” and “OFF” will be displayed below each character (SV display section).
Display when turned “ON”
Non-display (blind) when turned “OFF”
Switching between “ON” and “OFF” shall be done with the F key.
Changing of mode during the blind mode can be done with / keys.
Reset the power to end the blind mode.

Table of Contents