EasyManua.ls Logo

Trox Technik FKR-EU - Mortar-Based Installation - Multiple Occupancy of an Installation Opening

Trox Technik FKR-EU
164 pages
Print Icon
To Next Page IconTo Next Page
To Next Page IconTo Next Page
To Previous Page IconTo Previous Page
To Previous Page IconTo Previous Page
Loading...
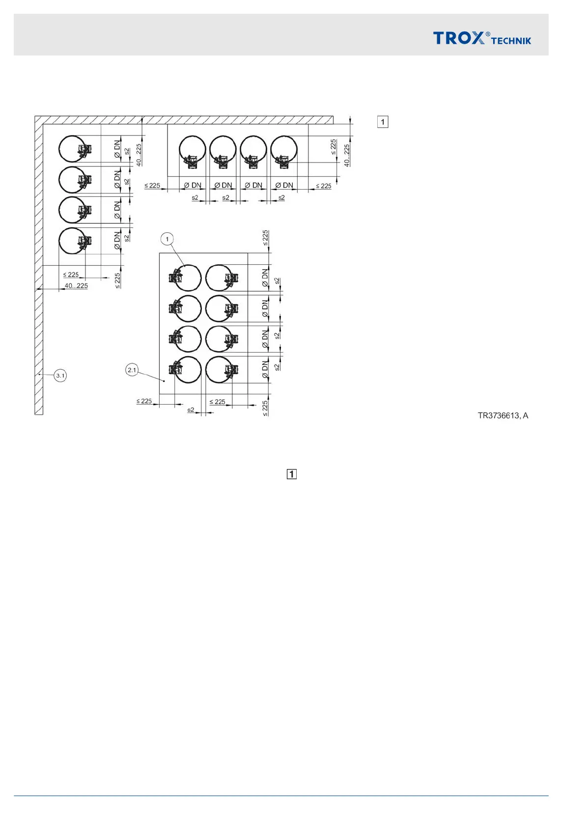
5.11.3 Mortar-based installation – multiple occupancy of an installation opening
Fig. 85: Mortar-based installation – multiple occupancy of an installation opening
1 FKR-EU
2.1 Mortar
2.2 Concrete
3.1 Solid wall (load-bearing component)
s2 Spigot construction 40 – 225 mm
Flange construction 80 – 225 mm
Up to EI 90 S
Installation
Solid ceiling slabs > Mortar-based installation – multiple occupancy...
Fire damper FKR-EU112

Table of Contents

Other manuals for Trox Technik FKR-EU

Related product manuals