EasyManua.ls Logo

Vaisala WXT532 - Figure 50 Wiring Snow Depth Sensor to WXT536

Vaisala WXT532
235 pages
Print Icon
To Next Page IconTo Next Page
To Next Page IconTo Next Page
To Previous Page IconTo Previous Page
To Previous Page IconTo Previous Page
Loading...
Appendix F __________________________________________ Wiring External Sensors to WXT536
VAISALA______________________________________________________________________ 209
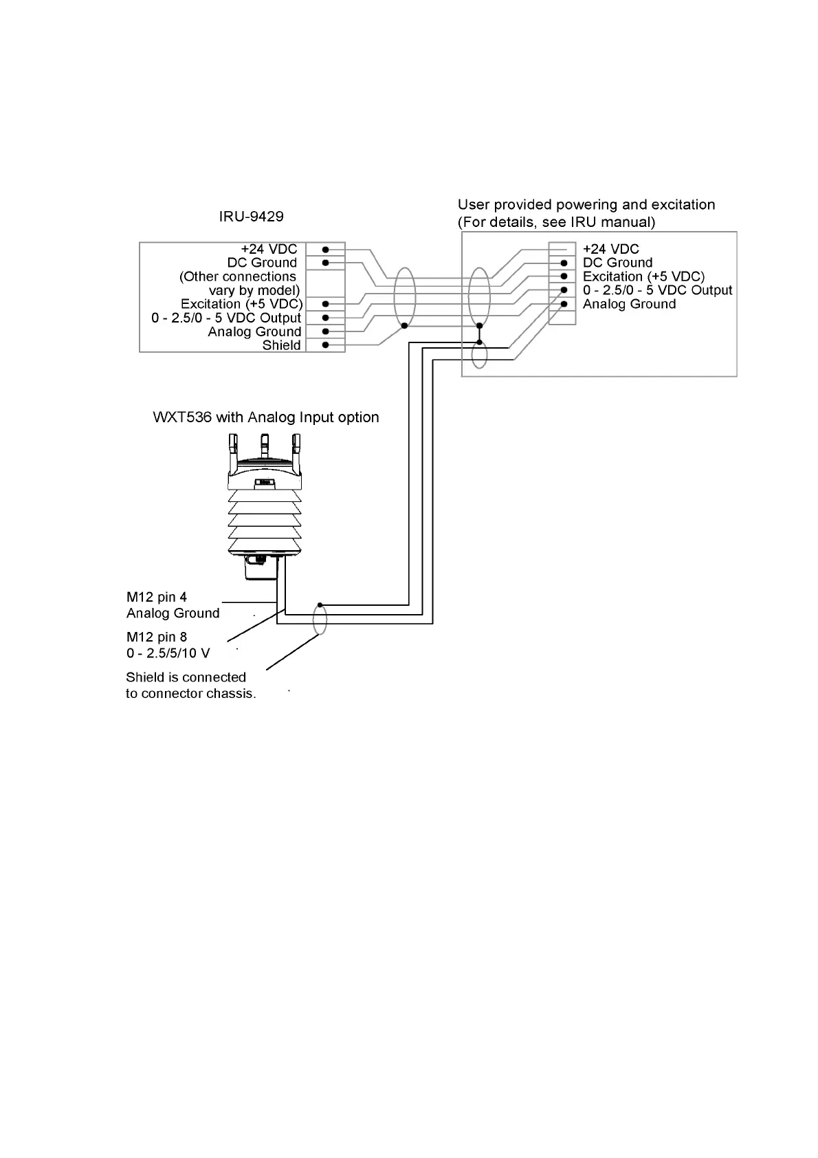
The figure below shows how to wire the snow depth sensor to WXT536.
1509-086
Figure 50 Wiring Snow Depth Sensor to WXT536

Table of Contents

Related product manuals