EasyManua.ls Logo

Windhager FireWIN - Connecting Diagram for Air Intake;Exhaust Flap

Windhager FireWIN
52 pages
Print Icon
To Next Page IconTo Next Page
To Next Page IconTo Next Page
To Previous Page IconTo Previous Page
To Previous Page IconTo Previous Page
Loading...
51
4. For the Service Technician
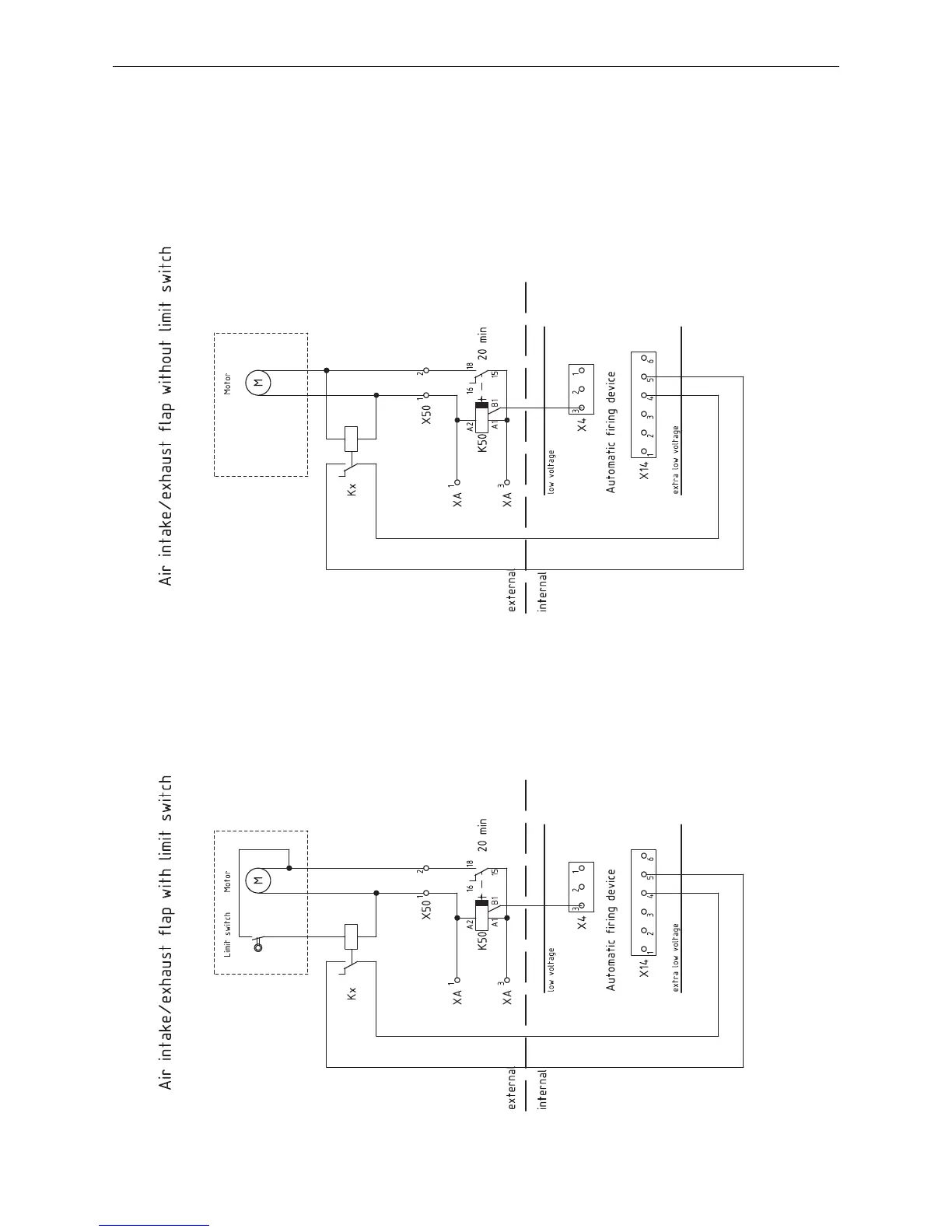
4.11 Connecting diagram for air intake/exhaust flap
The air intake/exhaust flap is directly connected to the automatic firing device (see basic circuit diagram 4.7) at
plug X4 (motor) and X14 (limit switch).
See section 4.5.1 Parameters; Flue gas thermostat or Air intake/ exhaust flap
.
092465/01

Table of Contents

Other manuals for Windhager FireWIN

Related product manuals