EasyManua.ls Logo

Yamaha SRX700D - Page 482

Yamaha SRX700D
497 pages
Print Icon
To Next Page IconTo Next Page
To Next Page IconTo Next Page
To Previous Page IconTo Previous Page
To Previous Page IconTo Previous Page
Loading...
SPEC
9-20
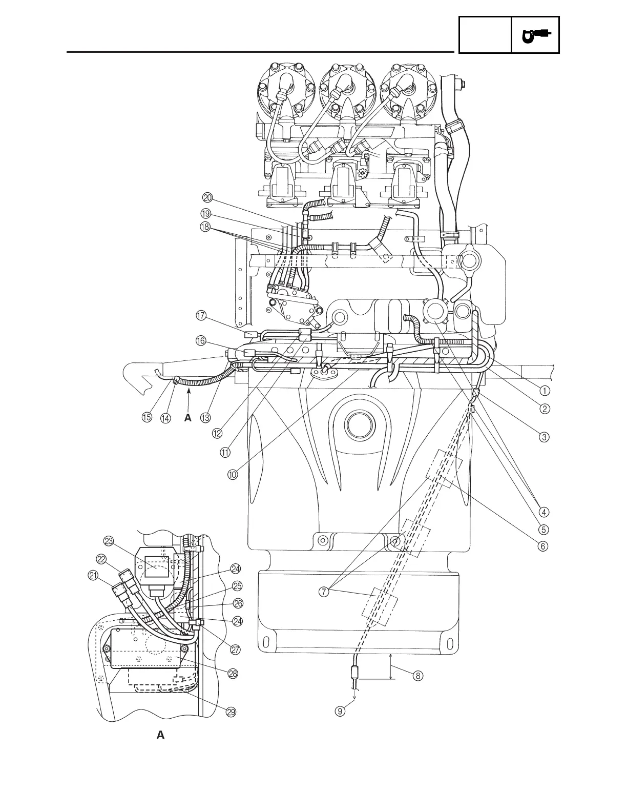
CABLE ROUTING
SDN9140

Table of Contents

Related product manuals