EasyManua.ls Logo

ABB RER620 - Page 383

ABB RER620
584 pages
Print Icon
To Next Page IconTo Next Page
To Next Page IconTo Next Page
To Previous Page IconTo Previous Page
To Previous Page IconTo Previous Page
Loading...
1MAC309294-MB F Section 6
Condition monitoring functions
RER620 377
Technical Manual
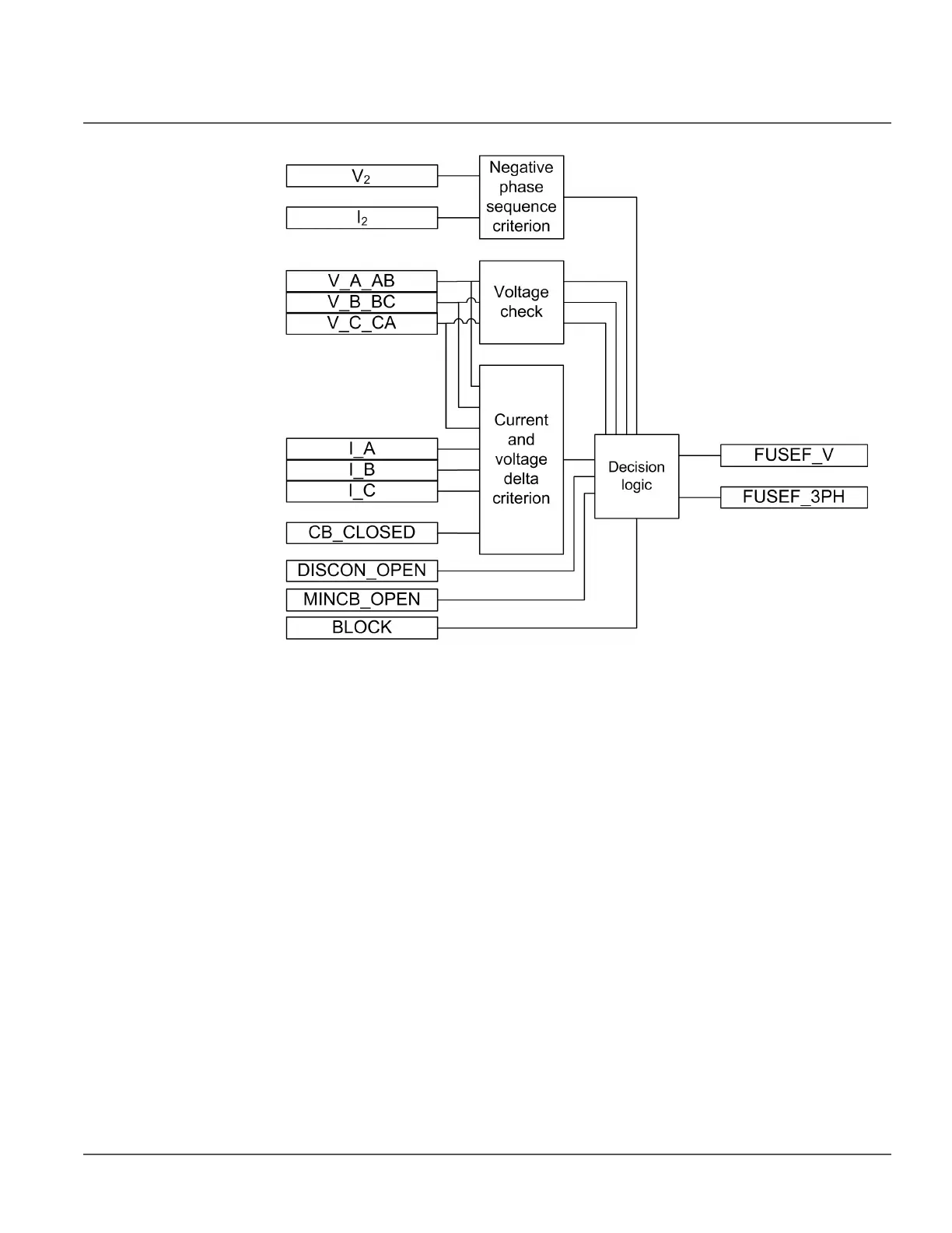
Figure 205: Functional module diagram
Negative phase-sequence criterion
A fuse failure based on negative phase-sequence criterion is detected if the measured
negative phase-sequence voltage exceeds the set Neg Seq voltage Lev value and the
measured negative phase-sequence current is below the set Neg Seq current Lev value. The
detected fuse failure is reported to the decision logic module.
Voltage check
The phase voltage magnitude is checked when deciding whether the fuse failure is a three,
two or a single-phase fault.
The module makes a phase-specific comparison between each voltage input and the Seal
in voltage setting. In case the input voltage is lower than the setting, the corresponding
phase is reported to the decision logic module.
Current and voltage delta criterion
The delta function can be activated by setting the Change rate enable parameter to “True”.
Once the function is activated, it operates in parallel with the negative phase-sequence
based algorithm. The current and voltage are continuously measured in all three phases to
calculate:

Table of Contents

Other manuals for ABB RER620

Related product manuals