EasyManua.ls Logo

ACT apricot - Apricot Computer Block Diagram

ACT apricot
328 pages
Print Icon
To Next Page IconTo Next Page
To Next Page IconTo Next Page
To Previous Page IconTo Previous Page
To Previous Page IconTo Previous Page
Loading...
HARDWARE
KEYBOARD UNIT
IIUCRIISCRmII
IMl~RI
...............
c:=
~
-
~
c:=
-
-
-
..
!;or
..
!;or
....
I
Dl'NISIII1
SLDTS
(>12)
\ra:tltl
Jll\TA
IUS
AIIDR£SS
JUS
aJrfTIItL
JUS
I
SDIItI
GEItEltATtit
..
.............
...........
!..
DISPLAV
carntILLEIt
l
I
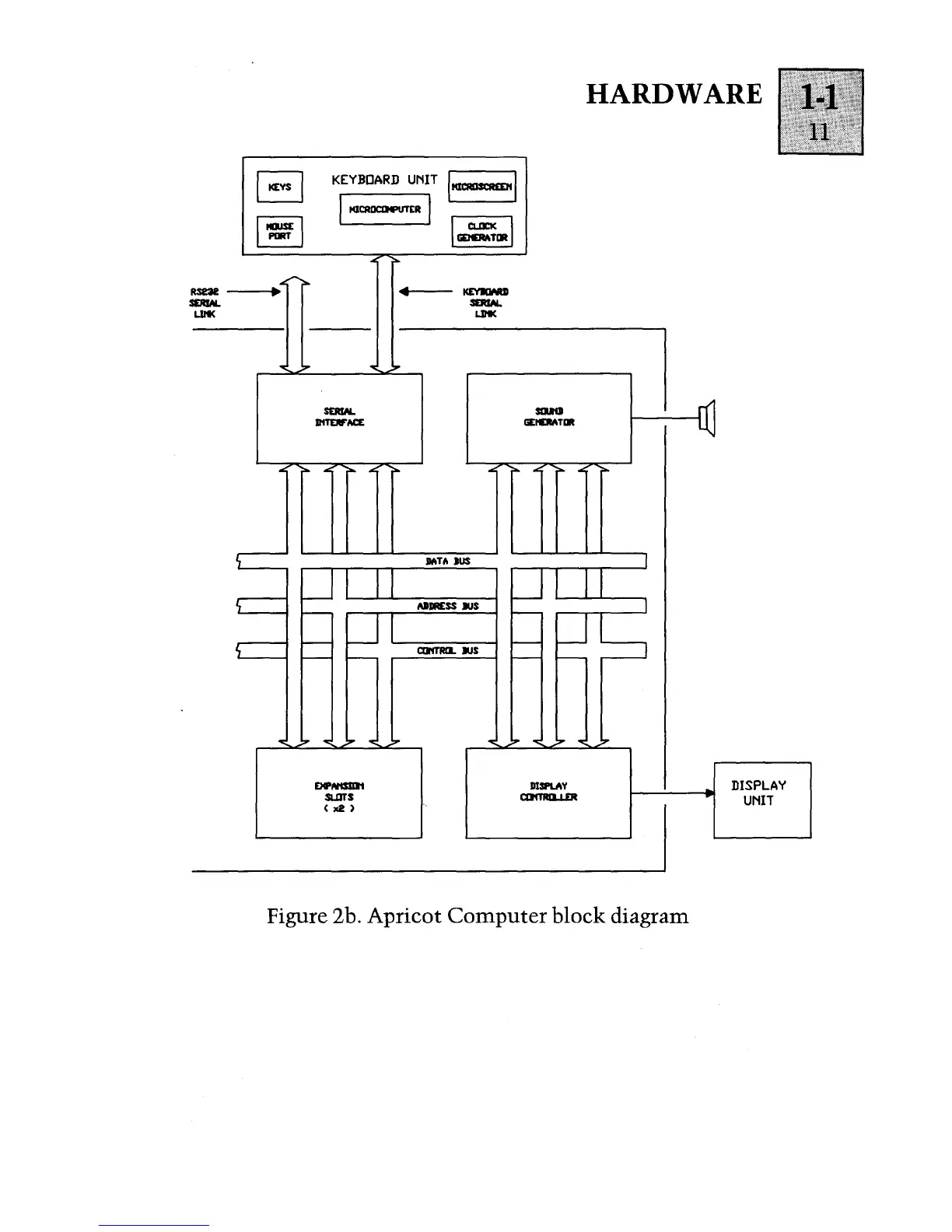
Figure 2b.
Apricot
Computer
block
diagram
DISPLAY
P UNIT

Table of Contents

Other manuals for ACT apricot