EasyManua.ls Logo

Alcatel OmniPCX Enterprise - Audio Keys; Fixed Keys

Alcatel OmniPCX Enterprise
66 pages
To Next Page IconTo Next Page
To Next Page IconTo Next Page
To Previous Page IconTo Previous Page
To Previous Page IconTo Previous Page
Loading...
9
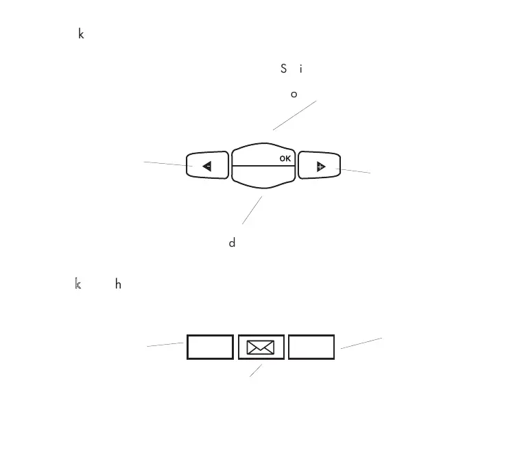
AAuuddiioo
kkeeyyss
FFiixxeedd
kkeeyyss
--
horizontal and vertical Fixed keys correspond to frequently used
features.
EEnndd
: to terminate a
call or programming.
MMeessssaaggee
: to access
mail services
RReeddiiaall::
to
automatically
redial the last
number dialed
Listen
Speaker
LLiisstteenn
--
Station speaker (to share
conversation) or
OOKK
(to confirm) certain features
SSppeeaakkeerr
--
for
Hands-free
operation
To increase station
speaker handset
(receiver), or
ringer volume.
To reduce station
speaker handset
(receiver), or
ringer volume.

Table of Contents

Other manuals for Alcatel OmniPCX Enterprise

Related product manuals