EasyManua.ls Logo

Autel MaxiCharger DC Fast - Product Overview

Autel MaxiCharger DC Fast
89 pages
Print Icon
To Next Page IconTo Next Page
To Next Page IconTo Next Page
To Previous Page IconTo Previous Page
To Previous Page IconTo Previous Page
Loading...
8
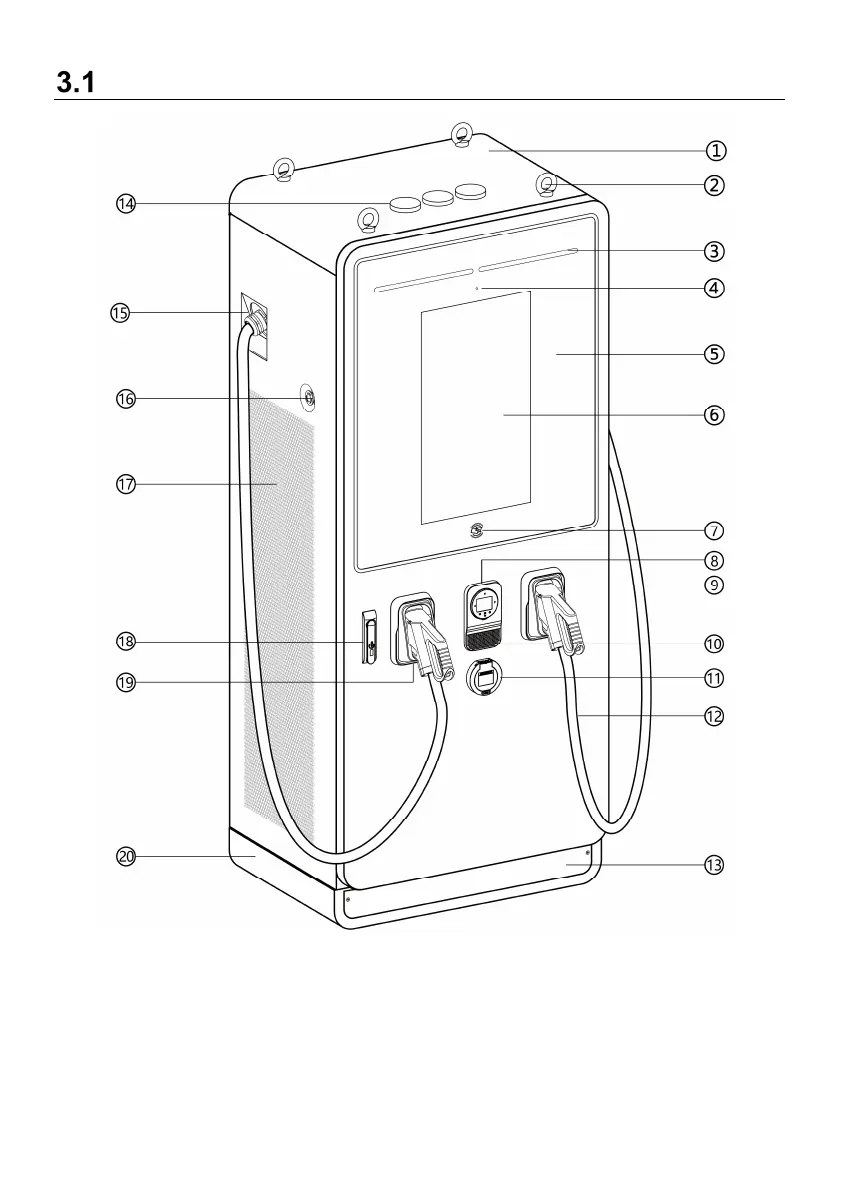
Product Overview
1. Main Cabinet
2. Eye Bolt — for equipment movement, loading and unloading
Figure 3-1 MaxiCharger Overview, Outside

Table of Contents

Related product manuals