EasyManua.ls Logo

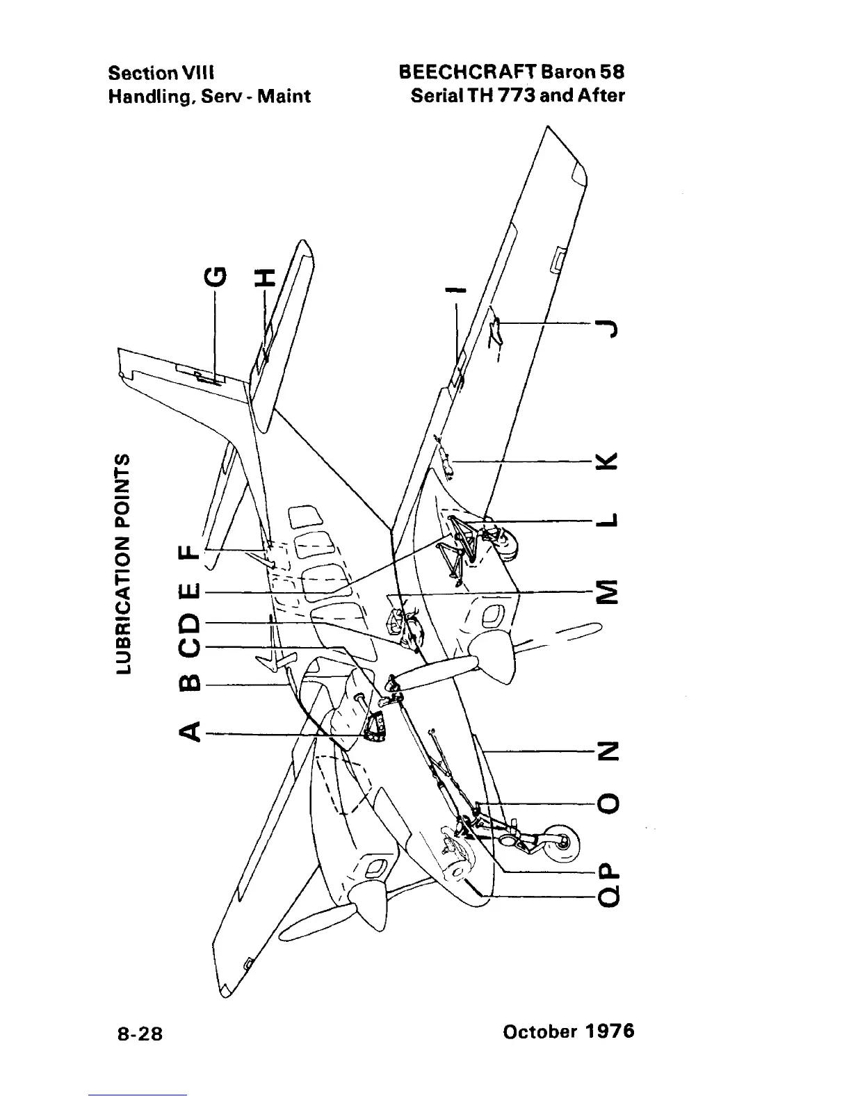
Beechcraft Baron 58 - Lubrication Points

Beechcraft Baron 58
514 pages
Print Icon
To Next Page IconTo Next Page
To Next Page IconTo Next Page
To Previous Page IconTo Previous Page
To Previous Page IconTo Previous Page
Loading...
Section
VIII
Handling,
Serv-
Maint
BEECHCRAFT Baron
58
Serial TH
773
and
After
t/)
~
t-
Z
0
D.
~
Z
0
t=
2
«
(J
a:
-i>
m
::J
....I
\\------2
'\.Il""+-'!---~-O
-----0.
"-:1-----0
8-28
October
1976

Table of Contents

Related product manuals