EasyManua.ls Logo

brent Corner Auger - DUAL WHEELS AND TIRE REFERENCE

brent Corner Auger
80 pages
Print Icon
To Next Page IconTo Next Page
To Next Page IconTo Next Page
To Previous Page IconTo Previous Page
To Previous Page IconTo Previous Page
Loading...
1-9
DUAL WHEELS
250923
SPINDLE
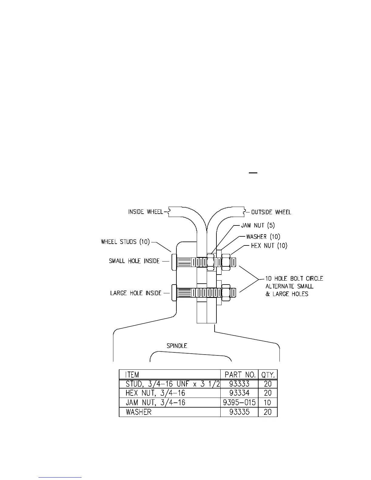
1. If necessary, replace existing wheel studs with longer 3/4-16 UNF x 3 1/2" studs.
INSIDE DUAL WHEEL:
2. Install inside dual wheel.
3. Use 3/4-16 hex jam nuts (27/64" Thick) on small holes.
4. Tighten the five jam nuts to 200 Ft. Lbs.
OUTSIDE DUAL WHEEL:
5. Install outside dual wheel with the five large holes indexed over inside wheel
nuts.
6. Use washers and 3/4"-16 UNF Grade 8 nuts on all studs.
7. Tighten the ten nuts to 400 Ft. Lbs.
• 04-16-01

Related product manuals