EasyManua.ls Logo

CASE CONSTRUCTION CX26C - Windshield Operation

Default Icon
258 pages
Print Icon
To Next Page IconTo Next Page
To Next Page IconTo Next Page
To Previous Page IconTo Previous Page
To Previous Page IconTo Previous Page
Loading...
3-CONTROLSANDINSTRUMENTS
Windshield
CAUTION
Pinchhazard!
Makesureyoucorrectlyfollowtheinstructionsinthismanualwhenhandlingthewindshield.Ifyou
donothandlethewindshieldcorrectly,itcouldslipandinjureyourngersorhands.
Failuretocomplycouldresultinminorormoderateinjury.
C0045A
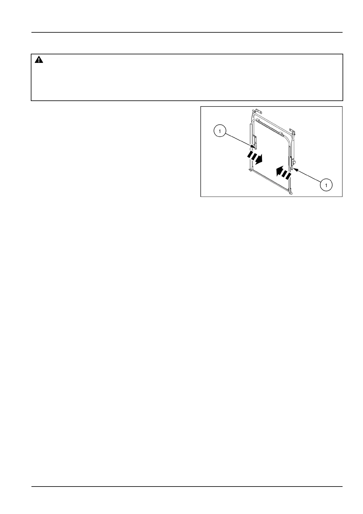
Opening
Holdthegrips(1)locatedonbothsidesofthewindshield
frame.
Movethegrips(1)totheinsidetoreleasethelocklatches.
Holdbothgrips(1)andpushthewindshieldupward.
Holdbothgrips(1)andbackintothestorageposition.
Releasebothgripscarefullyuntilthelocklatchesarein
thelockedposition.
NOTICE:becarefullofUSBkeywhenopenthefrontwin-
dow.ItisrecommendedtouseananoUSBkeywithover-
allmaximumlengthasreportedin3-27.
SMIL16MEX0035AB1
Closing
Holdthegrips(1)locatedonbothsidesofthewindshield
frame.
Movethegrips(1)totheinsidetoreleasethelocklatches.
Holdbothgrips(1)andpushthewindshielddownward.
Holdbothgrips(1)andbackintothestorageposition.
Releasebothgripscarefullyuntilthelocklatchesarein
thelockedposition.
3-11

Table of Contents

Related product manuals