EasyManua.ls Logo

Cedar Summit F25650 - Door Wall Assembly

Default Icon
112 pages
Print Icon
To Next Page IconTo Next Page
To Next Page IconTo Next Page
To Previous Page IconTo Previous Page
To Previous Page IconTo Previous Page
Loading...
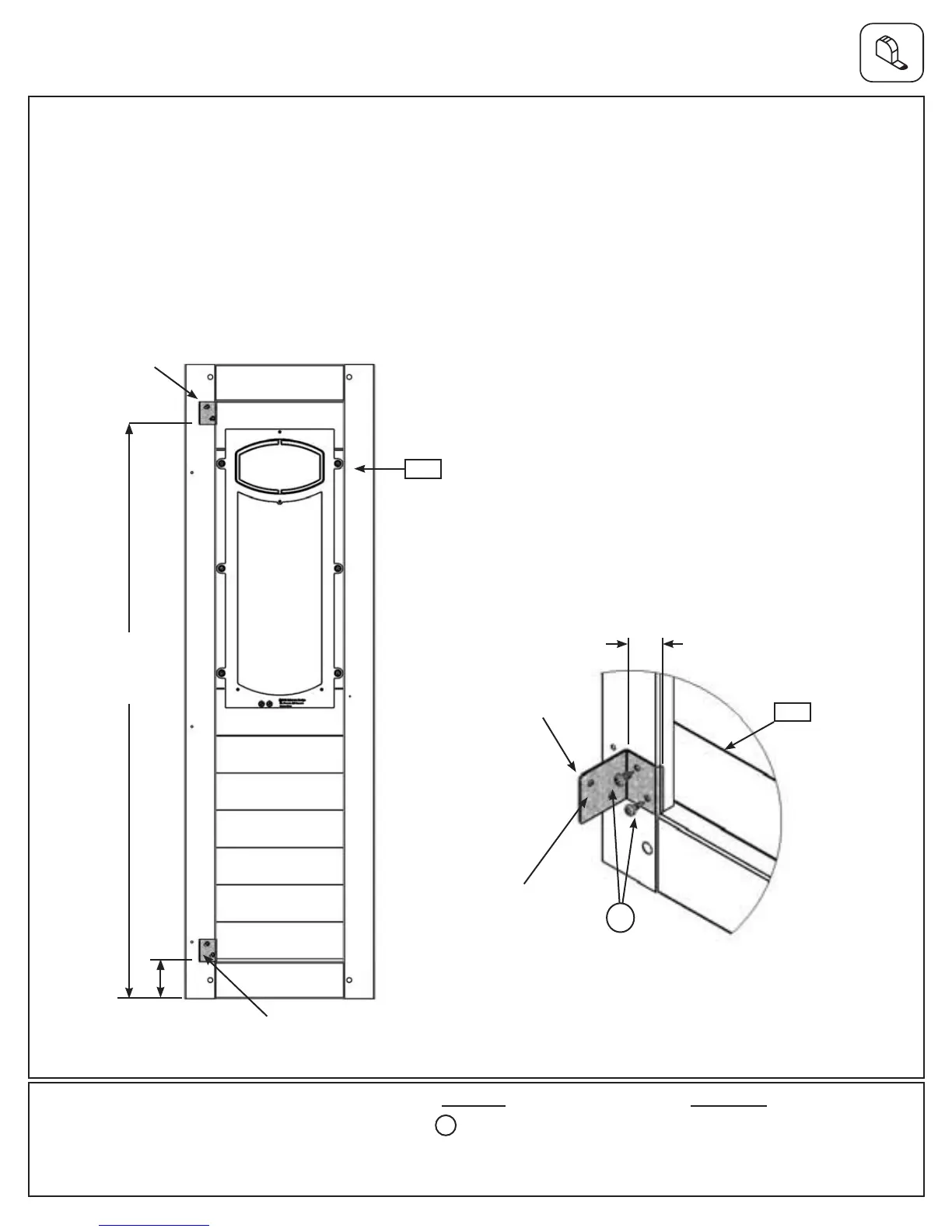
A: Place 1 (042) Chalkwall Panel from Step 4, Part 3 on the ground. Measure 3-1/4” up from the bottom of the
panel on the left side and attach a 1-1/2 x 2-1/4” Corner Panel Bracket to the panel with 2 (S8) #12 x 3/4” Pan
Screws. The at edge of the bracket must be facing up and it must be installed on the correct side. (g. 6.1 and
6.2)
B: Measure 50-3/4” from the bottom of (042) Chalkwall Panel and attach a second 1-1/2 x 2-1/4” Corner Panel
Bracket with 2 (S8) #12 x 3/4” Pan Screws. The at edge of the bracket must be facing up and it must be
installed on the correct side. (g. 6.1 and 6.2)
Note: Bottom of 1-1/2 x 2-1/4” Corner Panel Bracket must sit at 50-3/4”.
Hardware
4 x #12 x 3/4” Pan Screw
S8
Step 6: Door Wall Assembly
Part 1
Other Parts
2 x 1-1/2 x 2-1/4” Corner Panel Bracket
Fig. 6.1
042
Fig. 6.2
S8
042
Flat edge up
1-1/2 x 2-1/4”
Corner Panel
Bracket
50-3/4”
3-1/4”
Back View
1-1/2 x 2-1/4”
Corner Panel Bracket
1-1/2 x 2-1/4”
Corner Panel
Bracket
1-1/2”
37 support@cedarsummitplay.com

Table of Contents