EasyManua.ls Logo

Cleaver-Brooks CBW - Forced Draft Fan Mounting and Flow of Secondary Air

Default Icon
132 pages
Print Icon
To Next Page IconTo Next Page
To Next Page IconTo Next Page
To Previous Page IconTo Previous Page
To Previous Page IconTo Previous Page
Loading...
CHAPTER7
CHAPTER 7
·1
0
INSPECriON
AND :MAINTENANCE
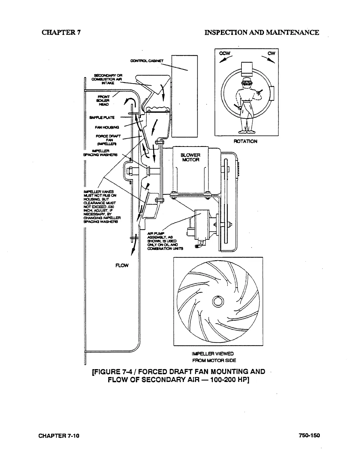
IMPE'1J..ER
VNIES
MJST
NOT
FIJS
ON
l<lUSING.
BUT
c::::u::A.AANCE
MUST
NOT
EXCEED
.030
INCH.
ADJUST,
IF
NECESSARV.
BY
c::H.ANGING
IMPEI....L.ER
g;tAQNG
WASHERS
FLON
IMPellER
VIEWED
FRC>M
MOTOR SlOE
[FIGURE 7-4 I FORCED CRAFT FAN MOUNTING AND
FLOW OF SECONDARY AIR
-100-200
HP]
750-150

Table of Contents

Related product manuals