EasyManua.ls Logo

Cleaver-Brooks CBW - Burner Drawer with Gas Pilot

Default Icon
132 pages
Print Icon
To Next Page IconTo Next Page
To Next Page IconTo Next Page
To Previous Page IconTo Previous Page
To Previous Page IconTo Previous Page
Loading...
CHAPTERS
ADJUSTMENT
PROCEDURES
750-150
GASKET(HTD ONLY)
F'FIONT
EDGE
OF
DIFFUSER
SKJRT
,.....---~/
t-----------''A'
-__,.----------1
ElJANER
DIMENSION
'A'
sro
1oo-200HP
18-3,44'
src2!5()..4()()HP
2\5-!5.8'
HTO~P
22·1.4!'
OfF
3(<4'
(OIL
ONLY)
DETAIL
'8"
·HIGH
TURNDOWN t250-400HP)
IGNITlON a.ECn:lOOE
GASANOAIR
lfl"""-•
MIXTURE
TO
PILOT
DETAIL "A"
DETAIL
"C"
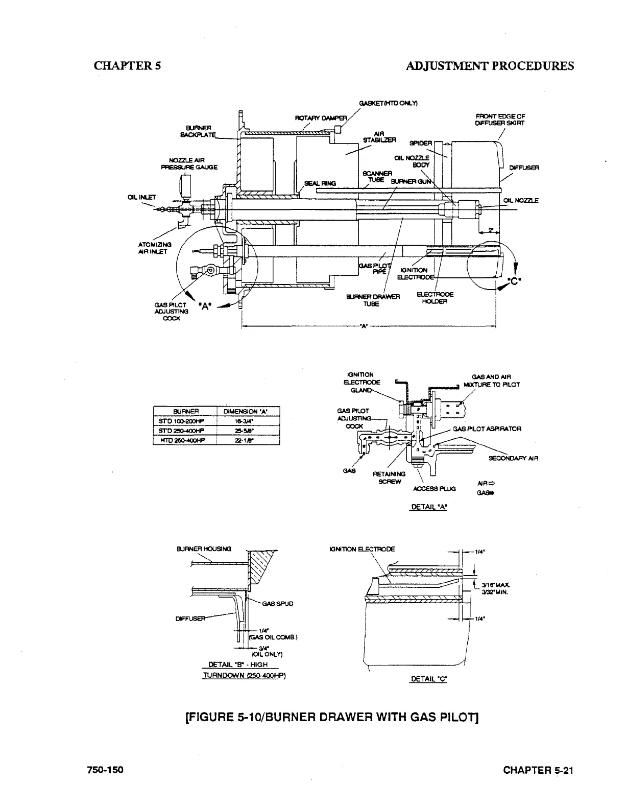
(FIGURE 5-10/BURNER DRAWER WITH GAS PILOT]
CHAPTER
5-21

Table of Contents

Related product manuals