EasyManua.ls Logo

ClimateMaster Tranquility TCH 024 - TC - Vertical Service Access

ClimateMaster Tranquility TCH 024
84 pages
Print Icon
To Next Page IconTo Next Page
To Next Page IconTo Next Page
To Previous Page IconTo Previous Page
To Previous Page IconTo Previous Page
Loading...
climatemaster.com
29
Tranquility
®
Compact (TC) Series
Rev.: July 7, 2020
THE SMART SOLUTION FOR ENERGY EFFICIENCY
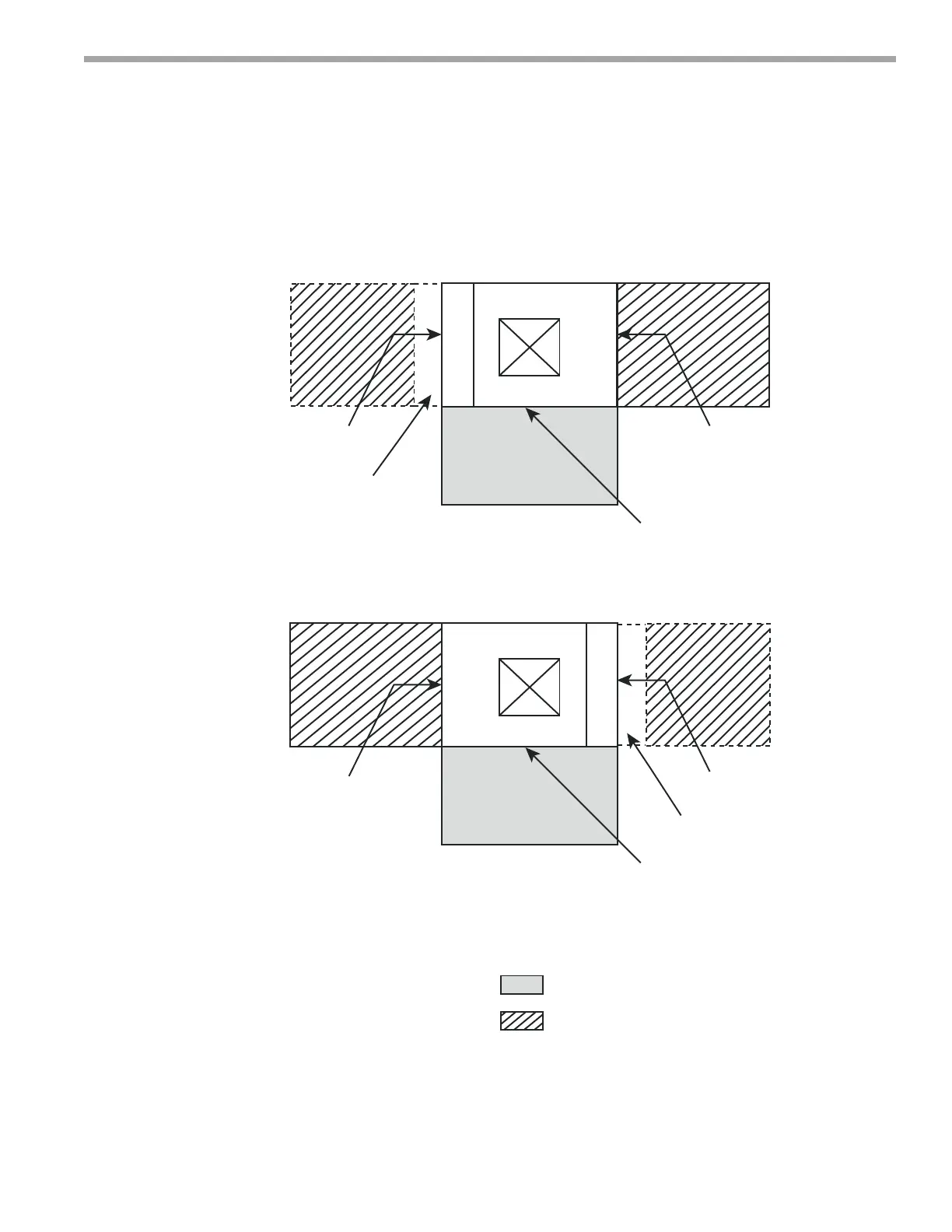
Vertical Units
Left Return
Right Return
= mandatory 2 service access
= (optional) additional 2 service access
ASPASP
Air Coil
Front
CCP and BSP
Supply Air
Opening
ASP
ASP
Air Coil
Front
CCP and BSP
Supply Air
Opening
Optionial WSE
See Note 5
Optionial WSE
See Note 5
TC - Vertical Service Access
Notes:
1. While clear access to all removable panels is not required,
installer should take care to comply with all building codes
and allow adequate clearance for future eld service.
2. Front & Side access is preferred for service access.
However, units without WSE option may be
serviced from the front access panel if
side access is not available.
3. ASP are removable panels that provide additional access to
the units interior. Clear access to ASP panels is not required
and they are not to be used in place of the mandatory CCP
and BSP panels.
4. Front return units (not shown) require front access for
controls/compressor and left side access for blower.
5. Units with WSE Must have access to water valve through
side
access panel.
Legend:
CCP = Control/Compressor Access Panel
BSP = Blower Service Panel
ASP = Additional Service Panel (not required)
WSE = Waterside Economizer

Table of Contents

Related product manuals