EasyManua.ls Logo

Comdial G0408 - Page 233

Default Icon
438 pages
Print Icon
To Next Page IconTo Next Page
To Next Page IconTo Next Page
To Previous Page IconTo Previous Page
To Previous Page IconTo Previous Page
Loading...
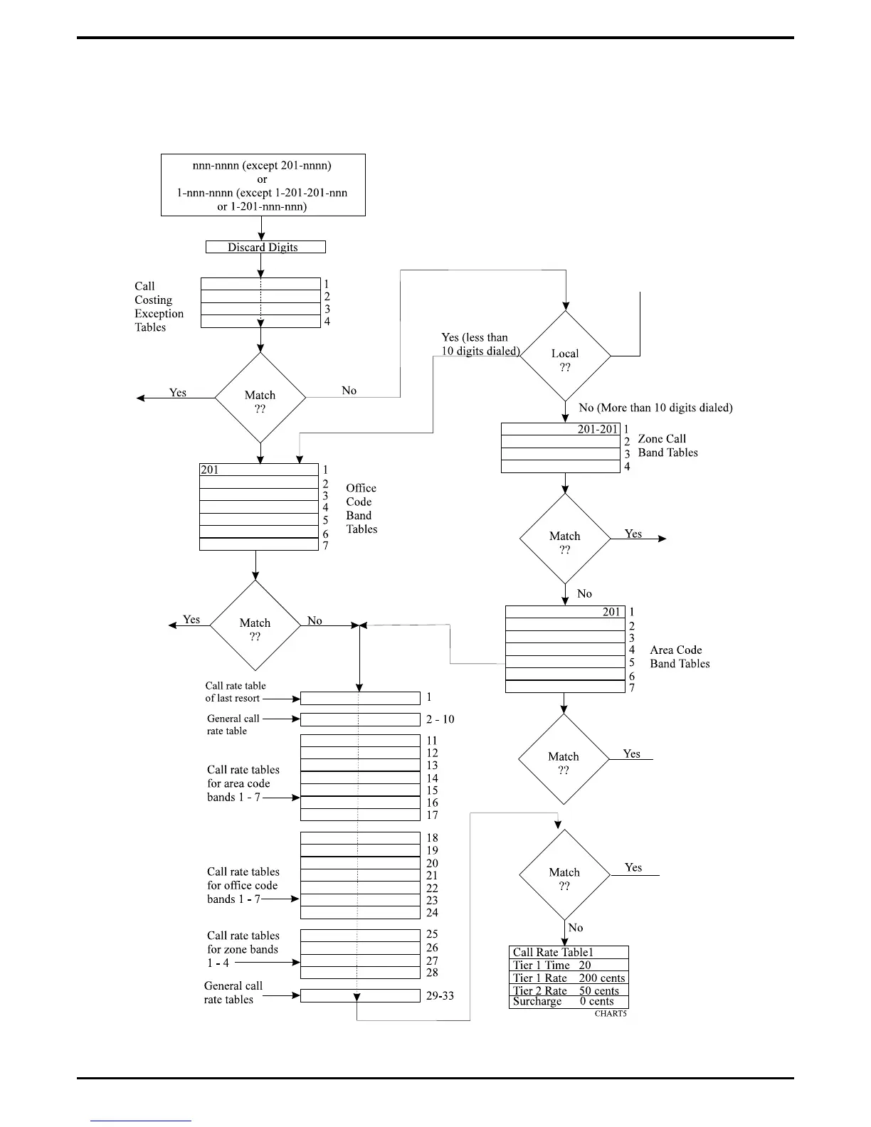
Example D For Exception Dialing Sequence
(nnn-nnnn, 1-nnn-nnnn)
Program call rate table one to cost calls that do not match any other programmed call rate table.
IMI66–107 Digital Telephone System
System Programming 3 – 121

Table of Contents