EasyManua.ls Logo

Condair Sigma - Steam, Water, and Electrical Installation

Condair Sigma
80 pages
Print Icon
To Next Page IconTo Next Page
To Next Page IconTo Next Page
To Previous Page IconTo Previous Page
To Previous Page IconTo Previous Page
Loading...
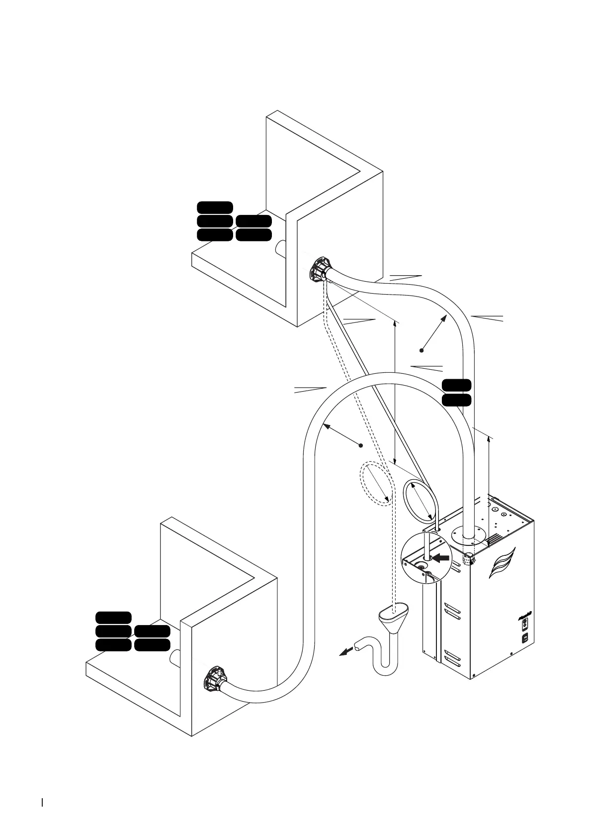
28 Mounting and installation work
5.4 Steam installation
5.4.1 Overview steam installation
min. 300 mm
min. 15 %
Rmin. 300 mm
Rmin. 300 mm
min. 300 mm
min. 15 %
min. 15 %
min. 15 %
+
min. 15 %
+
DS35
DS22
W22
DDL22
DDS22
W35
DDL35
W22
DDL22
DDS22
W35
DDL35
Ømin.
200 mm
Ømin.
200 mm
Abb. 9: Overview steam installation

Table of Contents

Related product manuals