EasyManua.ls Logo

CUMMINS QST30 - Block Diagram

CUMMINS QST30
183 pages
Print Icon
To Next Page IconTo Next Page
To Next Page IconTo Next Page
To Previous Page IconTo Previous Page
To Previous Page IconTo Previous Page
Loading...
3-2
Copyright 2017 Cummins Inc.
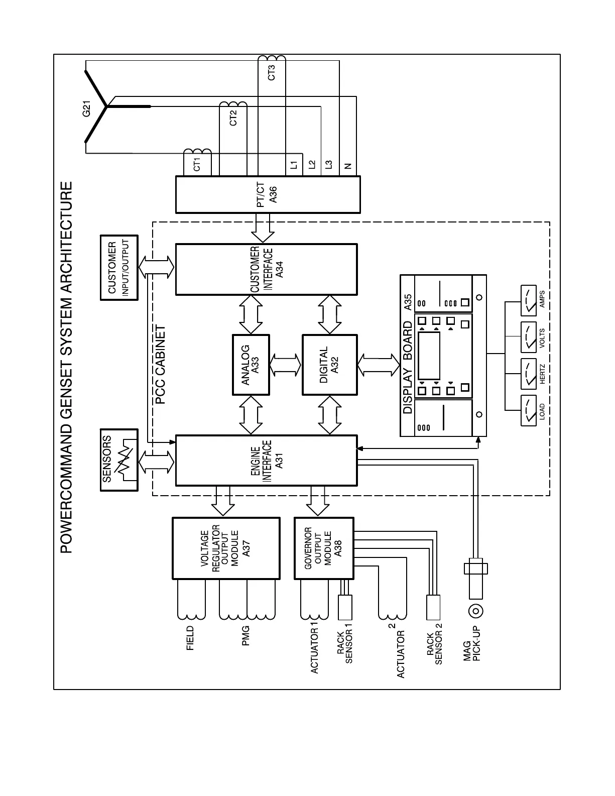
FIGURE 3-2. BLOCK DIAGRAM

Table of Contents

Related product manuals