EasyManua.ls Logo

CUMMINS QST30 - Customer Interface Board

CUMMINS QST30
183 pages
Print Icon
To Next Page IconTo Next Page
To Next Page IconTo Next Page
To Previous Page IconTo Previous Page
To Previous Page IconTo Previous Page
Loading...
3-9
Copyright 2017 Cummins Inc.
DS1 - MA 1ST START
DS3 - CUST FAULT4
DS4 - CUST FAULT1
DS6 - FAULT RESET
DS7 - ENG IDLE
DS8 - BRKR CLOSE
DS9 - BRKR OPEN
DS10 - BRKR POSN
DS11 - CUST FAULT2
DS13 - LOW FUEL
DS14 - RMT START
DS15 - CUST FAULT3
DS2 - [K14] PRE-LOP
DS5 - [K15] LOP
DS12 - [K7]
LOW COOL
DS16 - AC CONTACTOR
DS17 - COMMON ALARM
DS18 - SPARE RELAY
DS19 - LOAD DUMP
DS20 - READY TO LOAD
DS21 - [K8] PRE-HET
DS22 - [K6] NOT IN AUTO
DS23 - [K9] HET
DS24 [K10] OVERSPEED
DS25 - [K11] OVERCRANK
DS26 - [K12] LET
DS27 - [K13] LOW FUEL
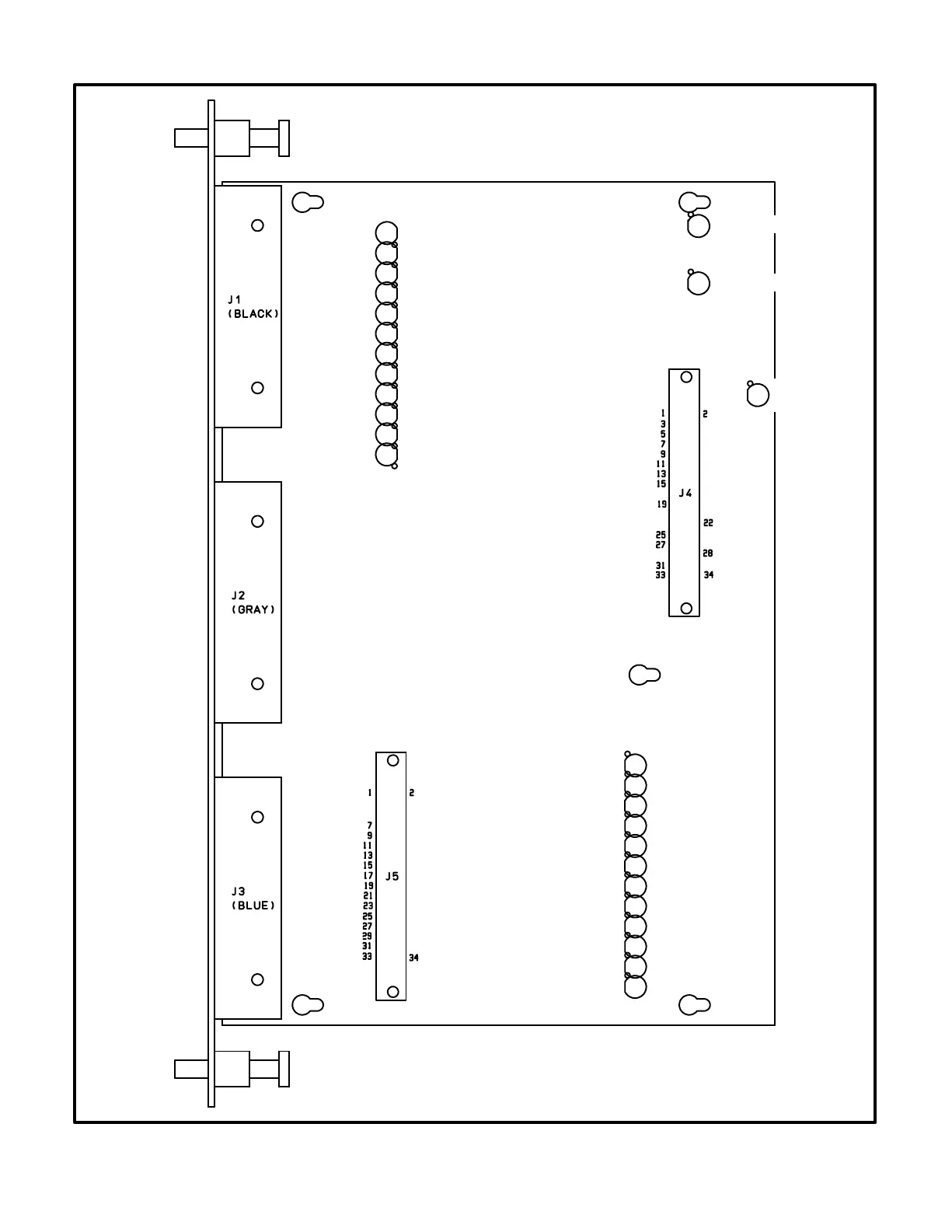
FIGURE 3-7. CUSTOMER INTERFACE BOARD

Table of Contents

Related product manuals