EasyManua.ls Logo

Dahua L Series - HDD Installation; I2;Nvr21-P-I;Nvr21-P-I2;Nvr21-8 P-I;Nvr21-8 P-I2

Dahua L Series
453 pages
Print Icon
To Next Page IconTo Next Page
To Next Page IconTo Next Page
To Previous Page IconTo Previous Page
To Previous Page IconTo Previous Page
Loading...
User's Manual
68
your purchase order.
The label in the rear panel is very important too. Usually we need you to represent the serial number
when we provide the service after sales.
3.4 HDD Installation
For the first time installation, make sure whether the HDD has been installed or not. We recommend
to use HDD of enterprise level or surveillance level. It is not recommended to use PC HDD.
Shut off the power before you replace the HDD.
Use the dedicated SATA HDD for monitoring recommended by the HDD manufacturer.
You can refer to the Appendix for HDD space information and recommended HDD brand.
3.4.1 NVR41-4KS2/NVR41-P-4KS2/NVR41-8P-4KS2/NVR41-
4KS2/L/NVR41-P-4KS2/L/NVR41-8P-4KS2/L/NVR21-4KS2/NVR21-P-
4KS2/NVR21-8P-4KS2/NVR21-W-4KS2/NVR21-I/NVR21-I2/NVR21-P-
I/NVR21-P-I2/NVR21-8P-I/NVR21-8P-I2
Connect cable and then secure the HDD on the NVR if it is not convenient to connect the HDD data
cable and power cable at first.
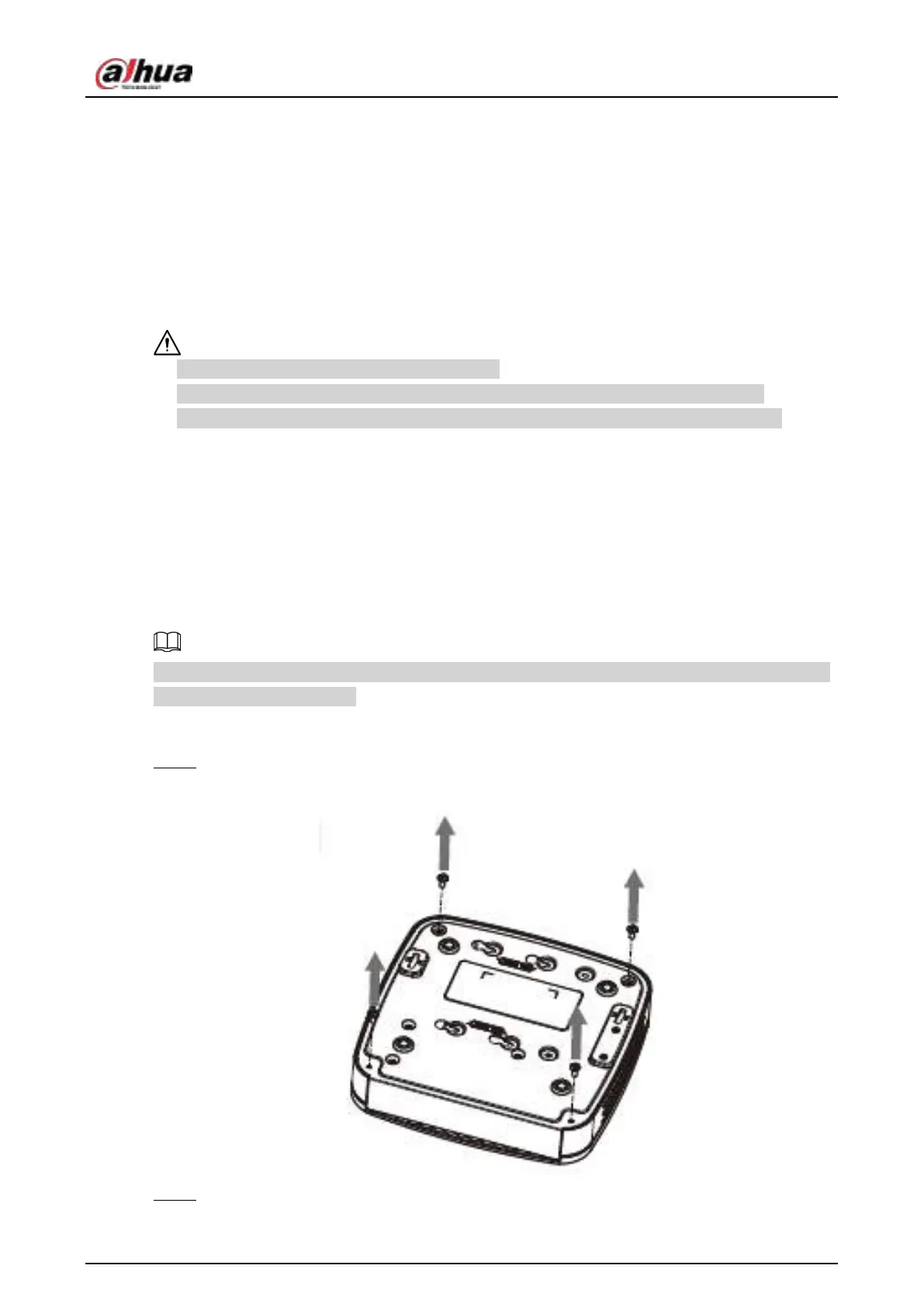
Procedure
Step 1 Loosen the screws of the bottom of the chassis.
Figure 3-2
Step 2 Place the HDD in accordance with the four holes in the bottom.

Table of Contents

Related product manuals