EasyManua.ls Logo

Dahua L Series - Page 95

Dahua L Series
453 pages
To Next Page IconTo Next Page
To Next Page IconTo Next Page
To Previous Page IconTo Previous Page
To Previous Page IconTo Previous Page
Loading...
User's Manual
78
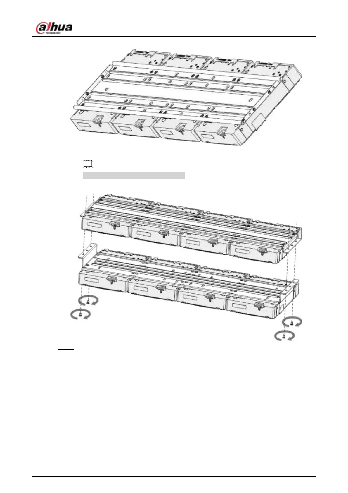
Figure 3-23
Step 6 Lock the two HDD brackets.
This step is required for 2U devices only.
Figure 3-24
Step 7 Place the bracket to the device and then fasten the screws on the sides of the bracket.

Table of Contents

Related product manuals