EasyManua.ls Logo

Daikin DCS303A51 - Page 17

Daikin DCS303A51
51 pages
Print Icon
To Next Page IconTo Next Page
To Next Page IconTo Next Page
To Previous Page IconTo Previous Page
To Previous Page IconTo Previous Page
Loading...
16
* When the SET/CANCEL button is held pressed
for more than 4 seconds, the Filter sign will be
reset in all units.
5. If no button is operated for 1 minute or the FUNC-
TION button
(1)
is pressed, the display returns to
the ALL screen when the setting was made in the
ALL screen, or to the INDIVIDUALLY screen when
the setting was made in the INDIVIDUALLY
screen.
NOTE
1. In each of steps 2 through 4, if no button is operated
for 1 minute, the display returns to the ALL screen
when the setting was made in the ALL screen, or to
the INDIVIDUALLY screen when the setting was
made in the INDIVIDUALLY screen.
In the above-mentioned case, the setting being
entered will not be applied.
[Screen Display]
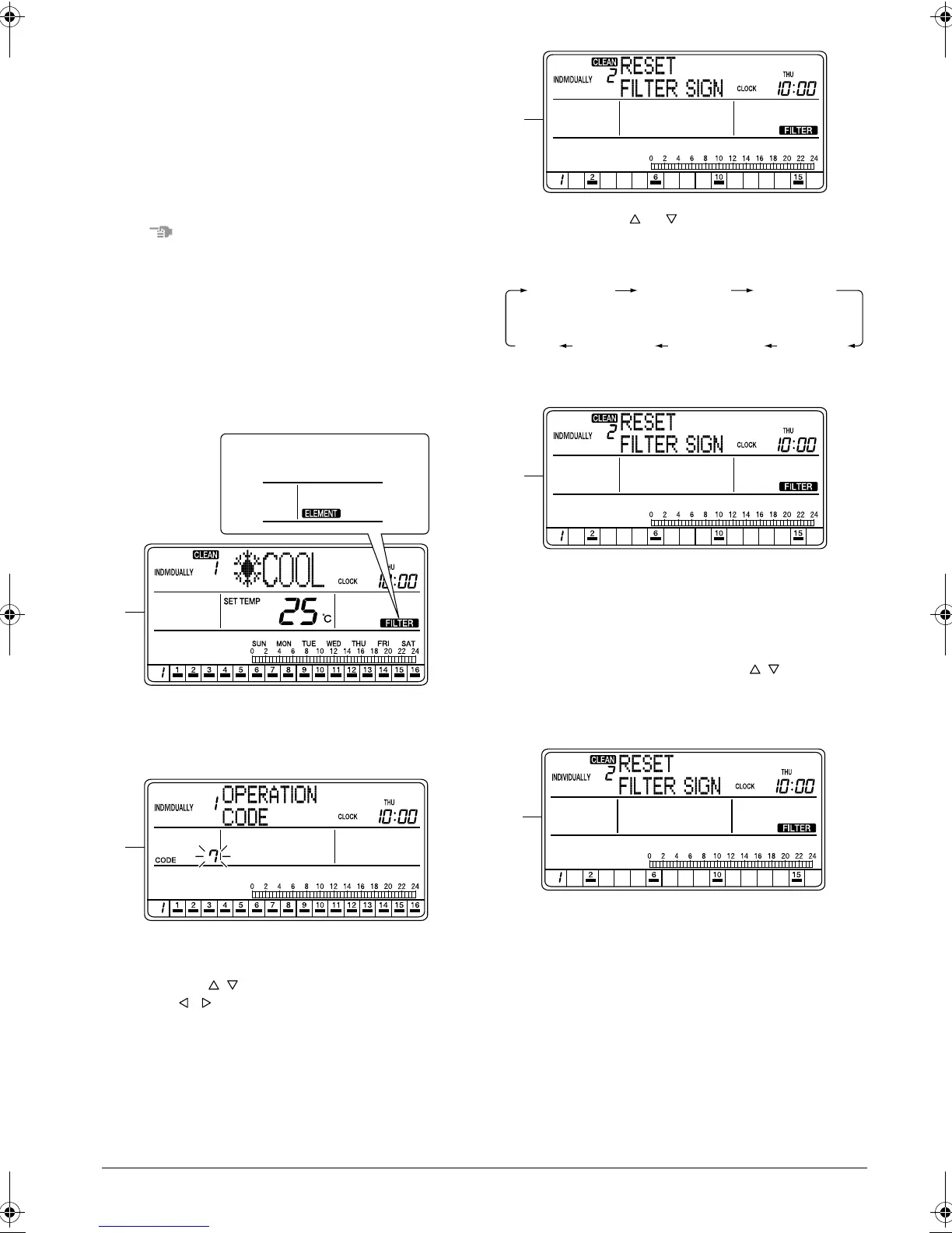
A. To reset the Filter sign, press the FUNCTION but-
ton (1) once while the ALL or INDIVIDUALLY
screen is displayed.
B. The Function Menu appears.
If no button is pressed for 2 seconds, a guidance
message, “ BUTTONS: CHANGE FUNC-
TION, BUTTONS: CHANGE OPERATION
CODE, SET/CANCEL BUTTON: SET,” appears in
the operation mode display section (dot matrix).
C. Each time the or button (2) is pressed, the
Function Menu changes in the following sequence:
Display the Reset Filter Sign screen.
D. The Reset Filter Sign screen indicates the air con-
ditioner for which the Filter or Element sign has
turned on.
If no button is pressed for 2 seconds while the dis-
play shows screen C on page 16 to screen H on
page 17, a guidance message, “ BUTTONS:
CHANGE FUNCTION, 1 - 16 BUTTONS: SELECT
INDIVIDUAL GROUP, SET/CANCEL BUTTON:
RESET,” appears.
E. Using an individual group selection button, select
the air conditioner to be reset, and press the SET/
CANCEL button.
The Filter sign in the selected air conditioner will be
reset.
* The Element sign is displayed
as shown below.
A
B
C
OPERATION
CODE
RESET
FILTER SIGN
OUTDOOR
TEMP
DISPLAY
DAYLIGHT
SAVING
SET DAYLIGHT
SAVING TIME
CONTRAST
KEY
LOCK
D
E
01_EN_3P124623-10N.fm Page 16 Monday, January 28, 2008 4:58 PM

Related product manuals