EasyManua.ls Logo

Daikin DCS303A51 - Page 30

Daikin DCS303A51
51 pages
Print Icon
To Next Page IconTo Next Page
To Next Page IconTo Next Page
To Previous Page IconTo Previous Page
To Previous Page IconTo Previous Page
Loading...
29
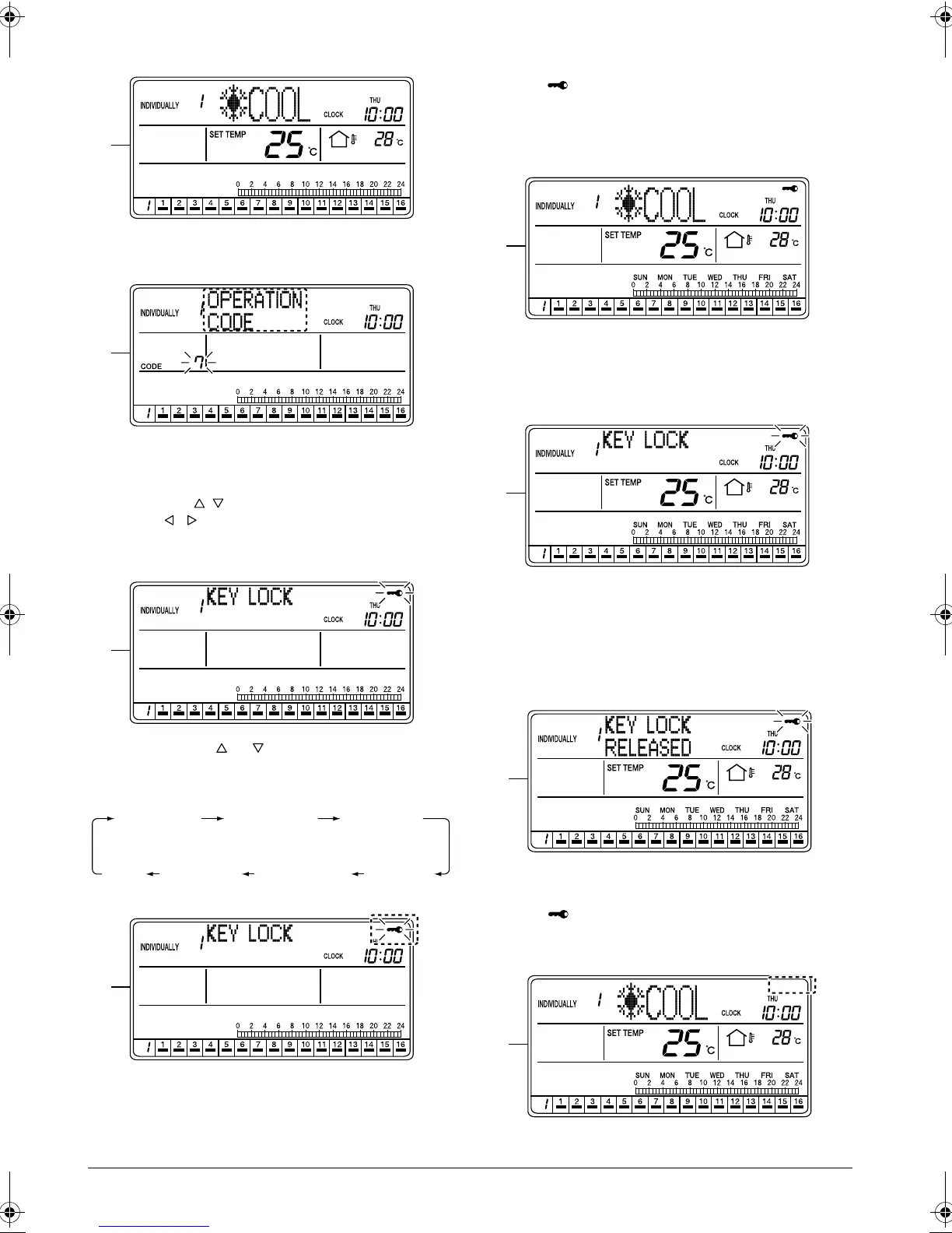
[Screen Display]
A. While the ALL or INDIVIDUALLY screen is dis-
played, press the FUNCTION button (1) once.
B. The Function Menu appears.
If no button is operated for 2 seconds while the dis-
play shows screen B or C on page 29, a guidance
message, “ BUTTONS: CHANGE FUNC-
TION, BUTTONS: CHANGE OPERATION
CODE, SET/CANCEL BUTTON: SET,” appears in
the operation mode display section (dot matrix).
C. Each time the or button (2) is pressed, the
Function Menu changes in the following sequence:
D.
While the Key Lock Menu screen is displayed,
press the SET/CANCEL button (3) once.
The mark blinks for 2 seconds and changes to
constant On. The key lock is set, and the display
returns to the ALL screen if the setting was made in
the ALL screen, or to the INDIVIDUALLY screen if
the setting was made in the INDIVIDUALLY screen.
E. The key lock is set and the display returns to the
ALL screen if the setting was made in the ALL
screen, or to the INDIVIDUALLY screen if the set-
ting was made in the INDIVIDUALLY screen.
F. When the key lock is enabled, button operations
for ON, OFF, operation mode change, etc. cannot
be performed.
If an operation for ON, OFF or operation mode
change is performed, the “KEY LOCK” indication
blinks for 4 seconds.
G. To cancel the key lock, hold the SET/CANCEL
button
(3)
pressed for more than 4 seconds.
The mark blinks for 1 second and then turns
Off, indicating that the key lock has been can-
celled.
A
B
C
OPERATION
CODE
RESET
FILTER SIGN
OUTDOOR
TEMP
DISPLAY
DAYLIGHT
SAVING
SET DAYLIGHT
SAVING TIME
CONTRAST
KEY
LOCK
D
E
F
G
H
01_EN_3P124623-10N.fm Page 29 Monday, January 28, 2008 4:58 PM

Related product manuals