EasyManua.ls Logo

Daikin DCS303A51 - Page 44

Daikin DCS303A51
51 pages
Print Icon
To Next Page IconTo Next Page
To Next Page IconTo Next Page
To Previous Page IconTo Previous Page
To Previous Page IconTo Previous Page
Loading...
43
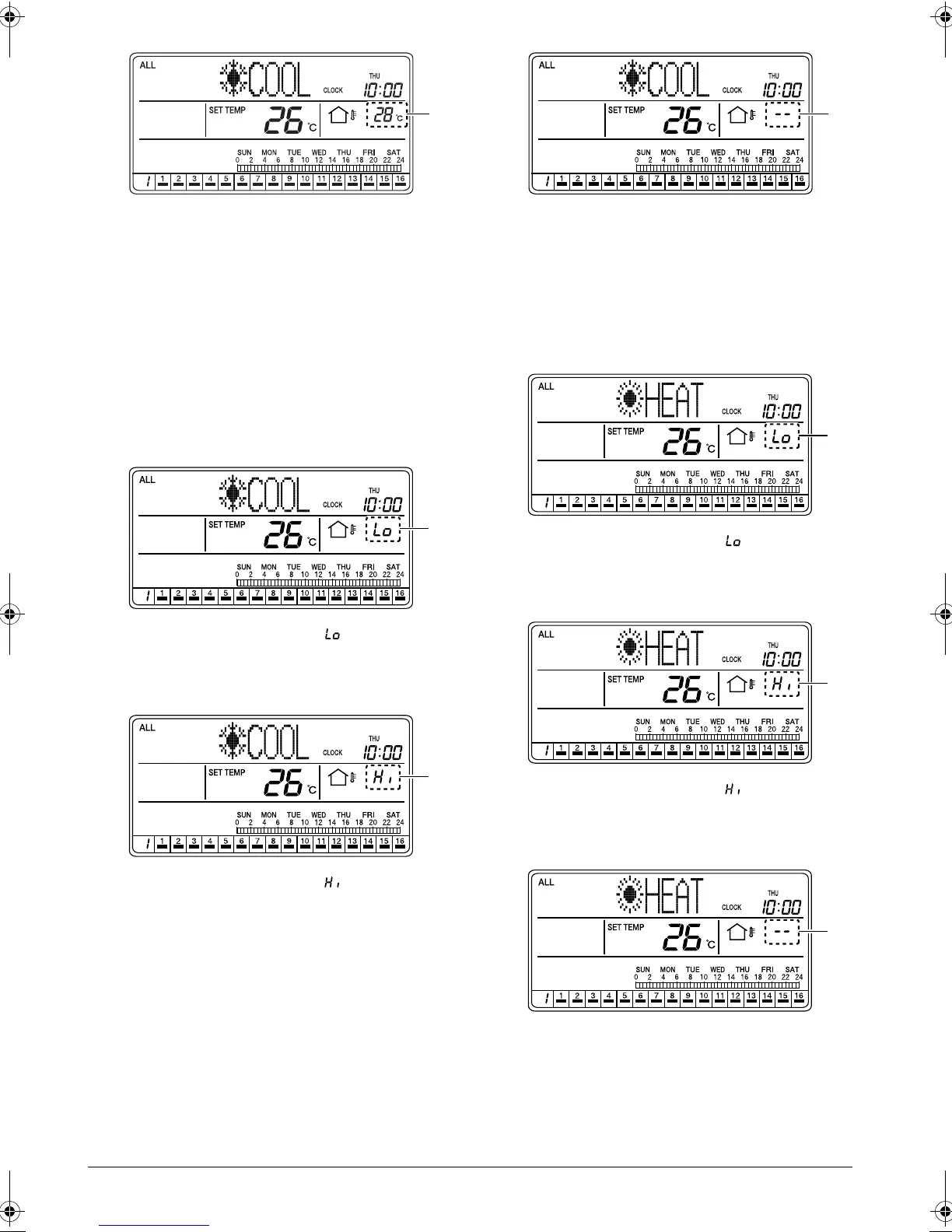
B. In the case of the ALL screen, the display shows
the outdoor temperature detected by the outdoor
unit connected to the air conditioner (group) with a
cooling/heating selection privilege (*) that has the
smallest unit No.
In the case of the INDIVIDUALLY screen, the dis-
play shows the outdoor temperature detected by
the outdoor unit connected to the selected air con-
ditioner (group).
(* An air conditioner (group) with a cooling/heating
selection privilege is a unit which allows switching
of the operation mode between cooling and heat-
ing.)
C. During cooling operation, the “ ” indication
appears if the outdoor temperature falls below
10°C while the room temperature is higher than the
set temperature.
D. During cooling operation, the “ ” indication
appears if the outdoor temperature becomes
higher than 39°C while the room temperature is
higher than the set temperature.
E. During cooling operation, if the room temperature
is lower than the set temperature, the outdoor tem-
perature display remains fixed for 30 minutes, and
it changes to “
--
”.
When the cooling operation is turned off, the out-
door temperature display that was shown prior to
OFF remains fixed for 30 minutes, and the temper-
ature display changes to “
--
”.
F. During heating operation, the “ ” indication
appears if the outdoor temperature falls below
–9°C while the room temperature is lower than the
set temperature.
G. During heating operation, the “ ” indication
appears if the outdoor temperature becomes
higher than 39°C while the room temperature is
lower than the set temperature.
B
C
D
E
F
G
H
01_EN_3P124623-10N.fm Page 43 Monday, January 28, 2008 4:58 PM

Related product manuals