EasyManua.ls Logo

Denso BHT-8000 - Page 203

Denso BHT-8000
219 pages
Print Icon
To Next Page IconTo Next Page
To Next Page IconTo Next Page
To Previous Page IconTo Previous Page
To Previous Page IconTo Previous Page
Loading...
190
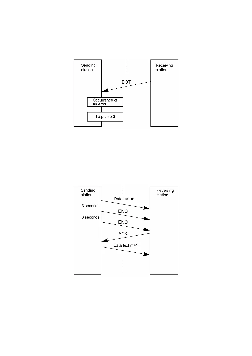
! Phase 2 with EOT
If the sending station receives an EOT anytime during phase 2, it shifts to phase 3 to terminate the
message transmission abnormally. Even if the phase 3 terminates normally, the transmission results in
an abnormal end.
! Phase 2 with iterated ENQ transmission due to no response or invalid response
If the sending station receives no response or any invalid response from the receiving station in
response to a transmission block sent, then it iterates sending of an ENQ at three-second intervals up to
nine times.
If the sending station receives an ACK before sending an ENQ nine times, it continues the subsequent
message transmission.

Table of Contents

Other manuals for Denso BHT-8000

Related product manuals