EasyManua.ls Logo

Denso BHT-8000 - Appendix B. Communications Protocol Details; BHT-Protocol; 1 ] Transmission Control Sequences

Denso BHT-8000
219 pages
Print Icon
To Next Page IconTo Next Page
To Next Page IconTo Next Page
To Previous Page IconTo Previous Page
To Previous Page IconTo Previous Page
Loading...
Appendices
185
Appendix B. Communications Protocol
Details
B.1 BHT-protocol
[ 1 ] Transmission Control Sequences
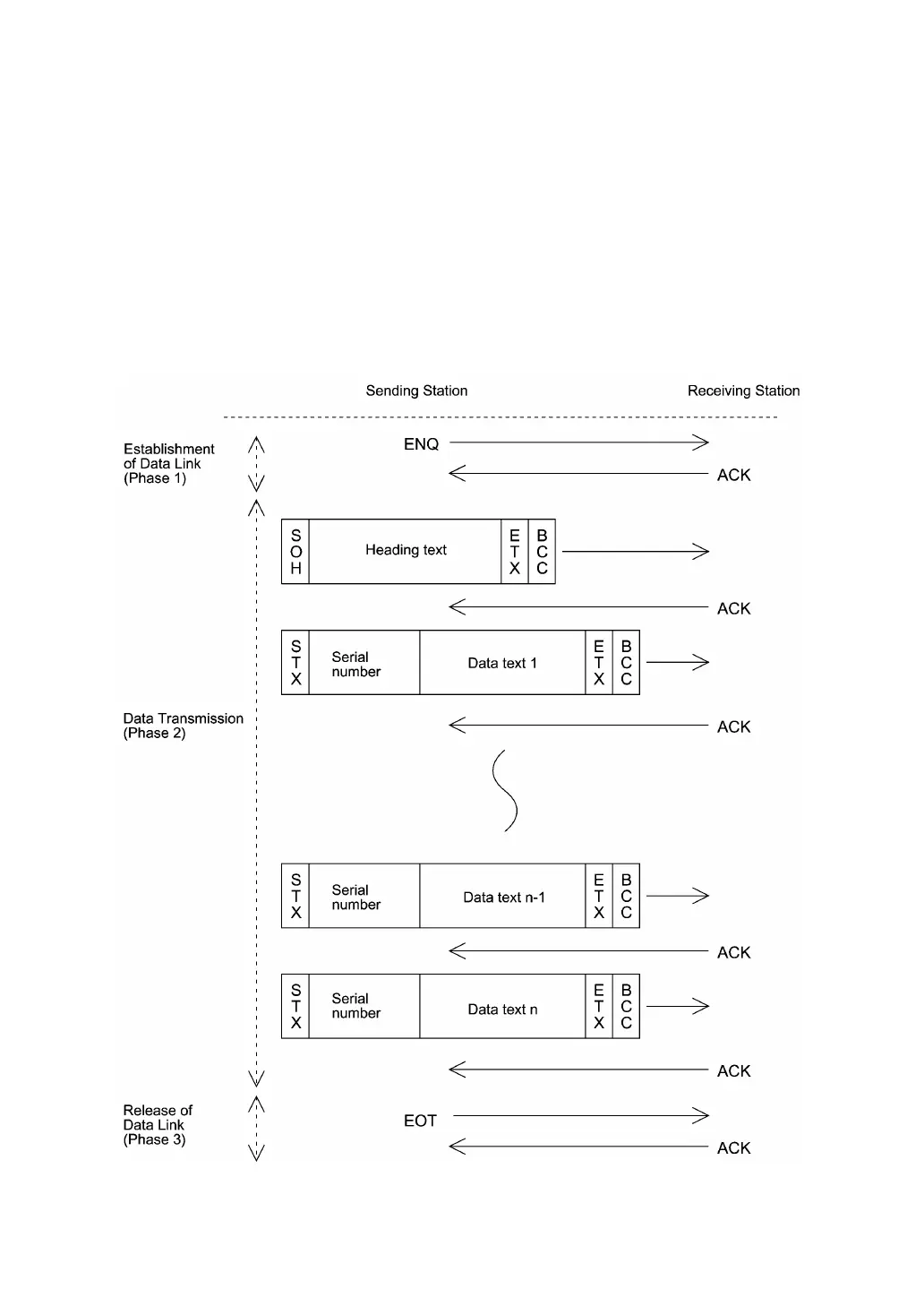
Shown below is a typical message transmission sequence supported by the BHT-protocol. This
sequence example does not include transmission errors or negative responses.

Table of Contents

Other manuals for Denso BHT-8000

Related product manuals