EasyManua.ls Logo

Denso BHT-8000 - Page 199

Denso BHT-8000
219 pages
Print Icon
To Next Page IconTo Next Page
To Next Page IconTo Next Page
To Previous Page IconTo Previous Page
To Previous Page IconTo Previous Page
Loading...
186
Data transmission may accidentally involve various types of errors. The BHT-protocol is designed to
recover from those errors as frequently as possible. What follows is the BHT-protocol for phases 1
through 3.
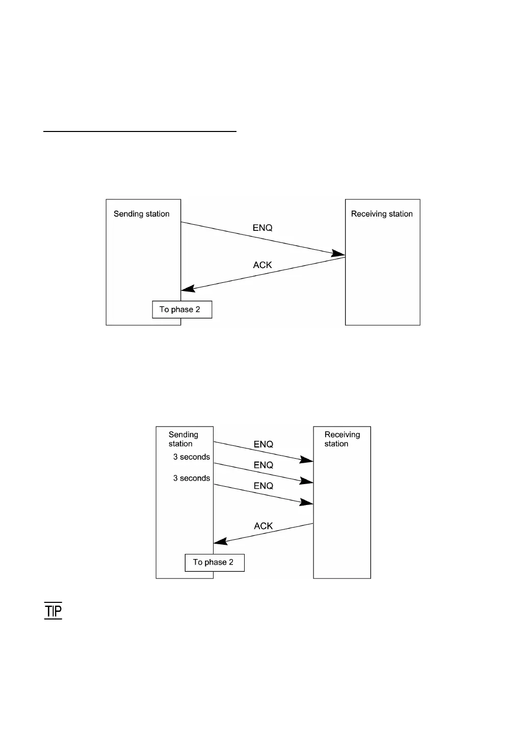
Phase 1: Establishment of Data Link
! Normal phase 1
The sending station transmits an ENQ to the receiving station. Upon receipt of an ACK from the
receiving station, the sending station shifts to phase 2.
! Phase 1 with iterated ENQ transmission due to no response or invalid response
If the sending station receives no response or any invalid response from the receiving station in
response to an ENQ sent, then it iterates sending of an ENQ at three second intervals up to 10 times.
If the sending station receives an ACK before sending an ENQ ten times, it shifts to phase 2.
You may modify the number of ENQ iterations for the sending station. The default is 10 times a
t
three-second intervals. For details, refer to the SET PROTOCOL screen in System Mode (pp. 63 an
d
65) and the XFILE statement given in "BHT-BASIC Programmer's Manual."

Table of Contents

Other manuals for Denso BHT-8000

Related product manuals