EasyManua.ls Logo

Denso BHT-8000 - Operating in System Mode; 1 ] Calling up the Desired Set Screen

Denso BHT-8000
219 pages
Print Icon
To Next Page IconTo Next Page
To Next Page IconTo Next Page
To Previous Page IconTo Previous Page
To Previous Page IconTo Previous Page
Loading...
44
2.5.2 Operating in System Mode
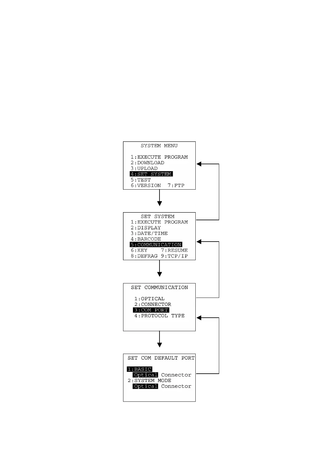
Some functions in System Mode require several screens to be shifted, as shown in the example below.
[ 1 ] Calling up the desired set screen
First, select a desired item on the current screen by using the numerical key or the cursor keys (F5 and
F6) so as to highlight the desired item.
Press the ENT key to establish the selected item and proceed to the subsequent screen.
To return to the preceding screen, press the C key.
C ke
y
C ke
y
C ke
y
ENT ke
y
Press 4 or use F5 and F6
to select "4:SET
SYSTEM."
Press 3 or use F5 and F6
to select "3:COM
PORT."
Press 5 or use F5 and F6
to select
"5:COMMUNICATION."
ENT ke
y
ENT ke
y
("7:FTP" available in
LAN-support BHT
system only)
("9:PING" available
in LAN-support
BHT system only)

Table of Contents

Other manuals for Denso BHT-8000

Related product manuals