EasyManua.ls Logo

Denso BHT-8000 - Page 200

Denso BHT-8000
219 pages
Print Icon
To Next Page IconTo Next Page
To Next Page IconTo Next Page
To Previous Page IconTo Previous Page
To Previous Page IconTo Previous Page
Loading...
Appendices
187
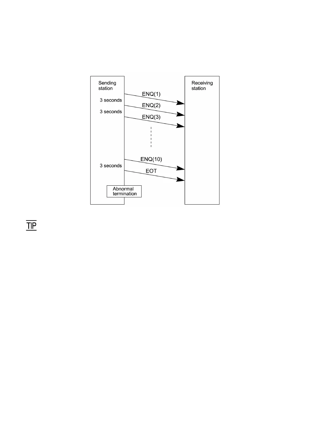
! Abnormal termination of phase 1 (Abort of phase 1)
If the sending station receives no ACK from the receiving station after sending an ENQ 10 times in
succession, then it sends an EOT to the receiving station after three seconds from the 10th ENQ to
terminate the message transmission abnormally.
The receiving station's default timeout is 30 seconds. You may modify the timeout length on the SET
PROTOCOL screen in System Mode (pp. 63 and 65) or by using the XFILE statement (refer to th
e
"BHT-BASIC Programmer's Manual").

Table of Contents

Other manuals for Denso BHT-8000

Related product manuals