EasyManua.ls Logo

Denso BHT-8000 - Page 209

Denso BHT-8000
219 pages
Print Icon
To Next Page IconTo Next Page
To Next Page IconTo Next Page
To Previous Page IconTo Previous Page
To Previous Page IconTo Previous Page
Loading...
196
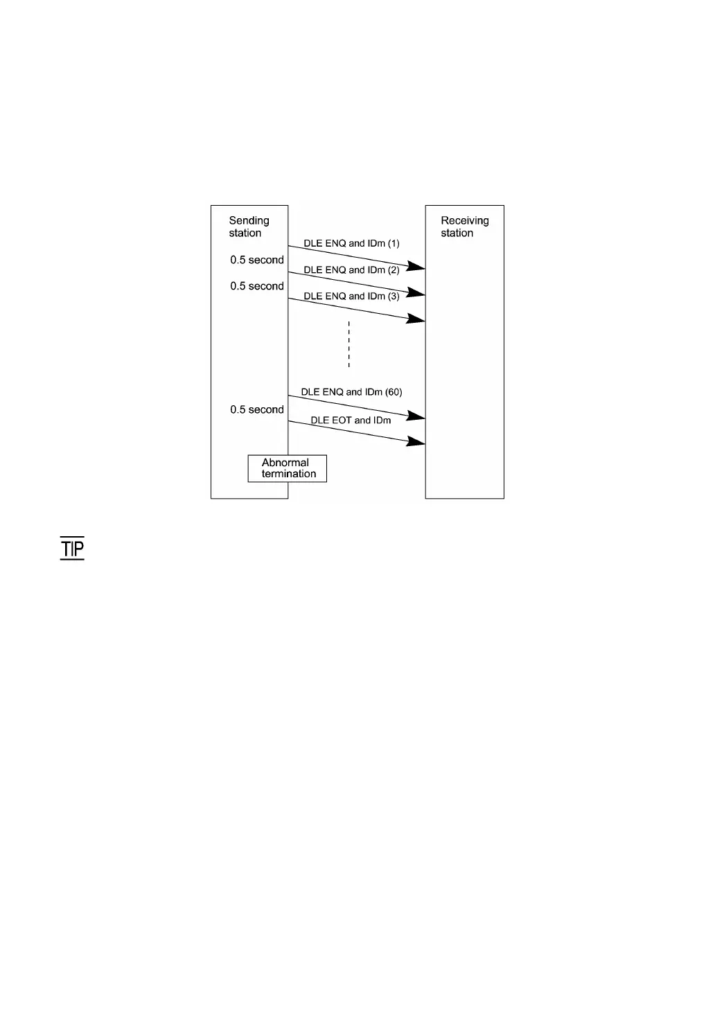
! Abnormal termination of phase 1 (Abort of phase 1)
If the sending station receives no sequence of DLE ACK and IDs from the receiving station after sending
a sequence of DLE ENQ and IDm 60 times in succession, then it sends a sequence of DLE EOT and
IDm to the receiving station after 0.5 second from the 60th sequence of DLE ENQ and IDm, then aborts
the message transmission abnormally.
The receiving station's default timeout is 30 seconds. You may modify the timeout length on the SET
PROTOCOL screen in System Mode (pp. 63 and 65) or by using the XFILE statement (refer to th
e
"BHT-BASIC Programmer's Manual").

Table of Contents

Other manuals for Denso BHT-8000

Related product manuals