EasyManua.ls Logo

Dinolift 240RXT - Testing the Overload Limit Switch (Rk5)

Dinolift 240RXT
113 pages
Print Icon
To Next Page IconTo Next Page
To Next Page IconTo Next Page
To Previous Page IconTo Previous Page
To Previous Page IconTo Previous Page
Loading...
DINO 240RXT
51
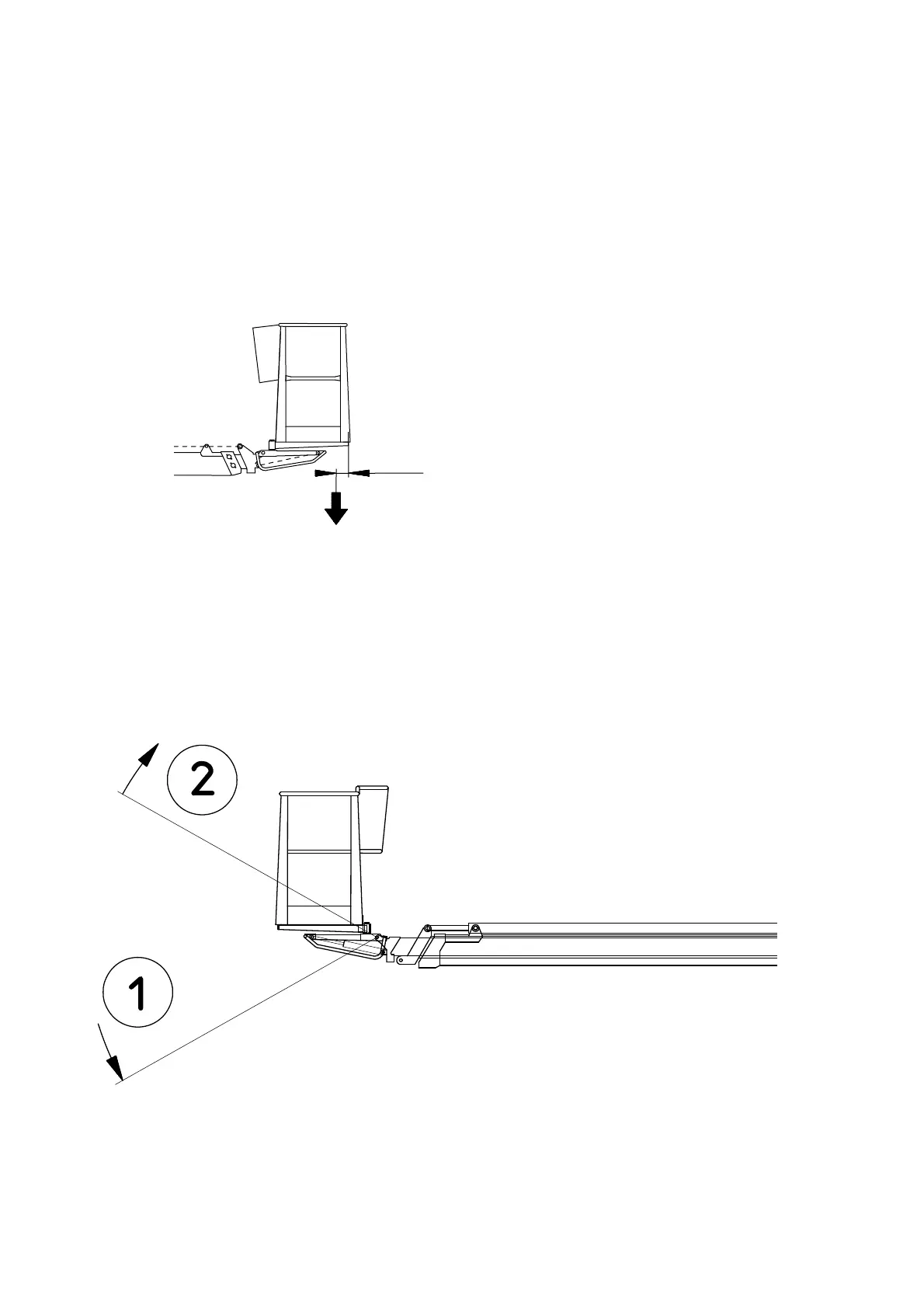
17.7.2 TESTING THE OVERLOAD LIMIT SWITCH (RK5)
The overload limit-switch RK5 will back up if the outreach limit switch RK4 for some reason would not
work.
Disable the RK4 by connecting for the test the terminals 64 and 70 in the chassis control panel with a
jumper lead.
Put a carefully weighed load (80 kg) on the platform. Place it at a distance of 100 mm from the rear edge
of the platform.
80 kg
PLATFORM LOAD
Drive the boom to a horizontal position from the chassis control panel.
Lift and lower the rear edge of the platform using the position control.
Drive the platform with the position control to a horizontal position so that that the last stage of the
adjustment procedure is lifting of the rear edge.
1. Lowering the rear edge of the platform
2. Lifting the rear edge of the platform
100 mm

Table of Contents

Other manuals for Dinolift 240RXT

Related product manuals