EasyManua.ls Logo

dolycon CT100 Series - Page 145

dolycon CT100 Series
163 pages
Print Icon
To Next Page IconTo Next Page
To Next Page IconTo Next Page
To Previous Page IconTo Previous Page
To Previous Page IconTo Previous Page
Loading...
CT100 inverter Detailed instructions of function parameters
141
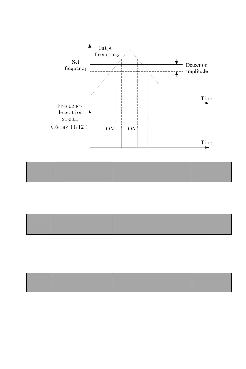
Figure 6-20 FDT level
F13.13
Droop control
Setting range: 0.00
10.00Hz
Default
value: 0.0
When several motors drive the same load, each motor's load is different because
of the difference of motor's rated speed. The load of different motors can be
balanced through droop control function which makes the speed droop along
with load increasing.
F13.14
Braking threshold
voltage
Setting range: 115.0
140.0%
Default
value: 130%
This function sets the threshold voltage of energy consumption brake, 100.0%
corresponds to the standard bus voltage (inverter rated voltage * 1.414). When
the bus voltage is larger than the threshold voltage, the energy consumption
brake starts and the value can be adjusted for effective energy consumption
brake of the load.
F13.15
Overmodulation
function
Setting range: 01
Default
value: 0
0: invalid
1: valid
This function is used when the grid voltage is low or the inverter is at heavy load
for a long term. The inverter can increase the output voltage by adjusting the bus
voltage utilization rate. When the voltage is overmodulated, the output current

Table of Contents

Related product manuals