EasyManua.ls Logo

DSE DSE7410 - Single Phase with Restricted Earth Fault; Single Phase Without Earth Fault

DSE DSE7410
121 pages
Print Icon
To Next Page IconTo Next Page
To Next Page IconTo Next Page
To Previous Page IconTo Previous Page
To Previous Page IconTo Previous Page
Loading...
Installation Typical Wiring Diagrams
50
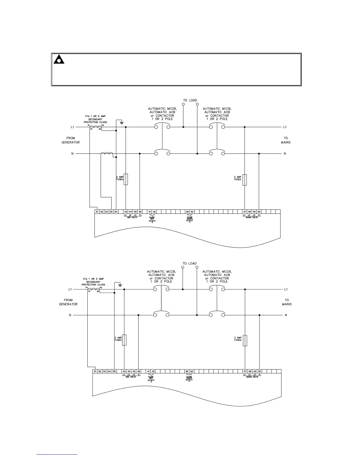
4.3.2 SINGLE PHASE WITH RESTRICTED EARTH FAULT
NOTE:- Earthing the neutral conductor ‘before’ the neutral CT allows the module to read
earth faults ‘after’ the CT only (Restricted to load / downstream of the CT)
Earthing the neutral conductor ‘after’ the neutral CT allows the module to read earth faults
‘before’ the CT only (Restricted to generator / upstream of the CT)
4.3.3 SINGLE PHASE WITHOUT EARTH FAULT

Table of Contents

Related product manuals