EasyManua.ls Logo

EBARA EV-A10 - Page 10

EBARA EV-A10
62 pages
Print Icon
To Next Page IconTo Next Page
To Next Page IconTo Next Page
To Previous Page IconTo Previous Page
To Previous Page IconTo Previous Page
Loading...
P.10
PM10U
EBARA
CORPORATION
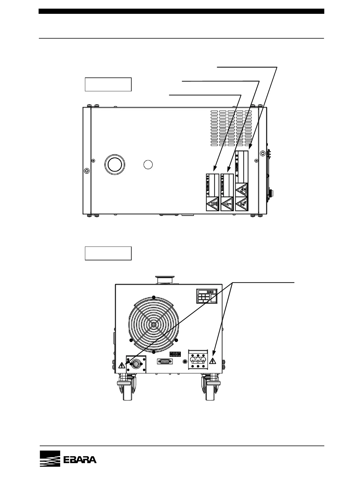
High temperature warning
Hazardous voltage warning
Heavy weight danger
Electric charge mark
Top View
Front View

Related product manuals