EasyManua.ls Logo

EBARA EV-A10 - System Flow

EBARA EV-A10
62 pages
Print Icon
To Next Page IconTo Next Page
To Next Page IconTo Next Page
To Previous Page IconTo Previous Page
To Previous Page IconTo Previous Page
Loading...
P.22
PM10U
EBARA
CORPORATION
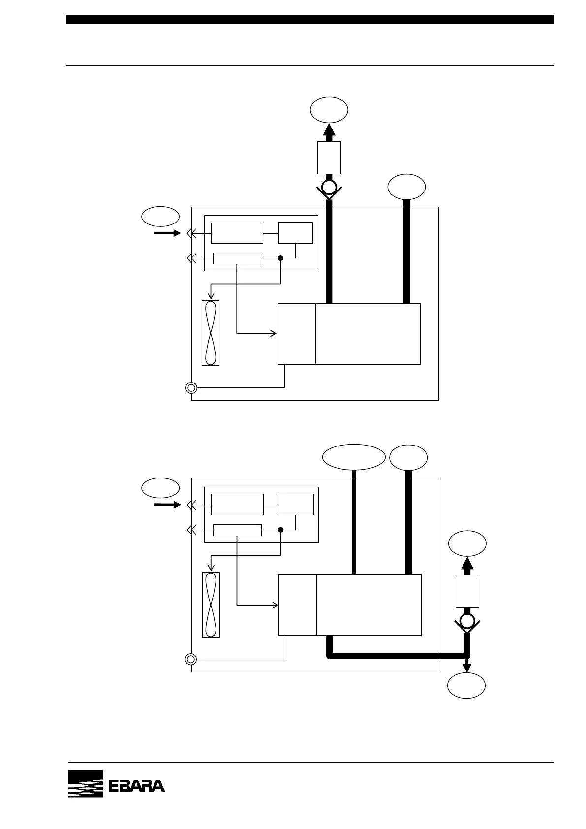
2.4.5 System Flow
Fig 2.2 System Flow
Gas
Outlet
Exhaust
Silencer
Check
Valve
Power
Control
Connector
Cooling Fan
Gas
Inlet
Circuit
Protector
Noise
Filter
Inverter
Thermal
Protector
Motor
Main Pump
(MP)
Noise
Filter
Model EV-A10-*U
Power
Control
Connector
Cooling Fan
Gas
Inlet
Circuit
Protector
Inverter
Thermal
Protector
Gas Ballast
Inlet
Noise
Filter
Motor
Main Pump
(MP)
Gas
Outlet
Exhaust
Silencer
Check
Valve
Drain
Port
Model EV-A10-*S

Related product manuals