EasyManua.ls Logo

Edge Technologies Minuteman 320 SE - Height Adjustment

Edge Technologies Minuteman 320 SE
222 pages
Print Icon
To Next Page IconTo Next Page
To Next Page IconTo Next Page
To Previous Page IconTo Previous Page
To Previous Page IconTo Previous Page
Loading...
MINUTEMAN 320
34
REV 13.1:2020
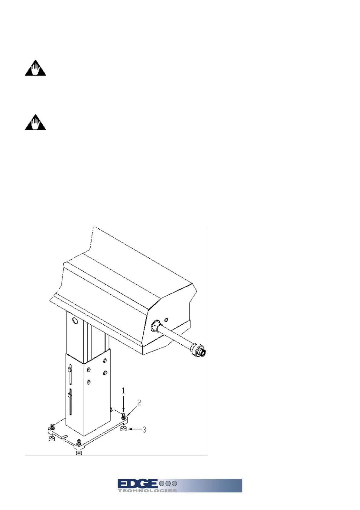
4.4 Height adjustment
Caution the assembly of the level pad mounting system must be
completed with all the parts for proper installation.
Caution only trained installers are to make stand adjustments. Not
following proper procedure could lead to personal injury and
The Minuteman utilizes a simple stand system for height adjustment. Height adjustment is the
same with the axial track option. The placement of the leveling pads must be performed prior to
adjusting the stands.
Install leveling screws (1) and
nuts (2) in both front and
back legs
Place one leveling pad (3)
under each screw
Run screw down into leveling
pad. Once touching rotate
screw two revolutions
Level stands

Table of Contents

Related product manuals