EasyManua.ls Logo

Elan s86a - SS;SC4 Connection; ZONE 1-8 Connections

Elan s86a
113 pages
Print Icon
To Next Page IconTo Next Page
To Next Page IconTo Next Page
To Previous Page IconTo Previous Page
To Previous Page IconTo Previous Page
Loading...
E L A N H O M E S Y S T E M S
INSTALLATION MANUAL
© ELAN Home Systems 2009 • All rights reserved. Page 37
S86A
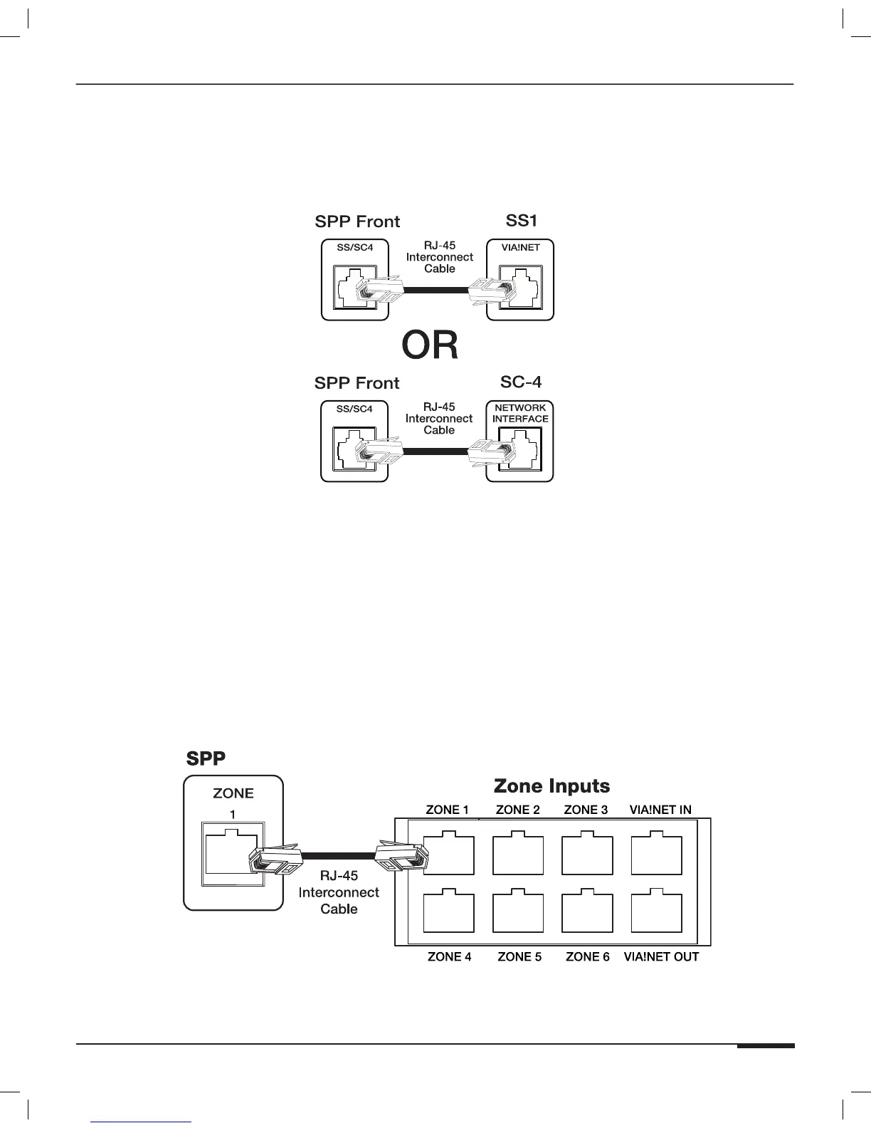
SS/SC4 Connection
Use the SS/SC4* RJ-45 connector to integrate an ELAN SS1 System Station or SC-4 System Controller to the S86A
Multi-Room Controller in order to facilitate integration of RS-232 controlled systems such as security, lighting or
HVAC. Use an RJ-45 Interconnect Cable for this purpose.
Figure 3-23: SS/SC4
*Note: The SC-4 is a discontinued product.
ZONE 1-8 Connections
Connect a straight-through RJ-45 interconnect cable (1 or 2 meter Interconnect Cable) between the S86As 1-6
Zone Inputs and the SPP Zone 1-8 RJ-45 jacks. This routes all keypads, touch panels, touchpads and IR receivers
punched-down on the back of the SPP directly to the S86A. Zones 7-8 are not connected in S86A systems.
Note: In order to facilitate RS-485 communication, Zone 1 must
ALWAYS be connected between the S86A Controller and the
SPP Precision Panel.
SPP to S86A Zone Connections (Zone 1 shown)
S86A
Figure 3-24: Zone Keypad Input Connections

Table of Contents

Related product manuals