EasyManua.ls Logo

Epec 5050 - Page 77

Epec 5050
92 pages
Print Icon
To Next Page IconTo Next Page
To Next Page IconTo Next Page
To Previous Page IconTo Previous Page
To Previous Page IconTo Previous Page
Loading...
5050 CONTROL UNIT
Technical Manual & Cabling Instructions
77 / 92
19.10.2012
5050 / MAN000539
Epec Oy reserves all rights for improvements without prior notice
Epec Oy Postiosoite/Postal address Puhelin/Phone Fax Internet
Tiedekatu 6 PL/P.O.Box 194 +358-(0)20-7608 111 +358-(0)20-7608 110 www.epec.fi
FIN-60320 Seinäjoki FIN-60101 Seinäjoki, Finland
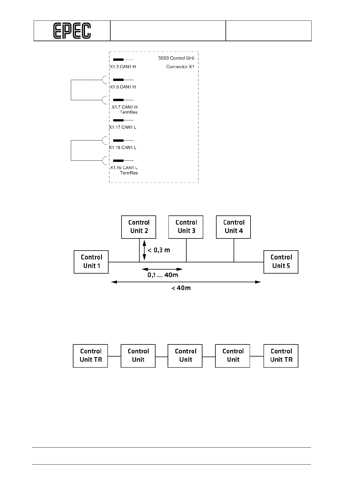
Example1. Termination resistor connection in CAN1
Example 2. Control system topology in theory with maximum bus speed (1000 kbit/s); Control
Units in traditional bus arrangement. For more information about the bus speeds, refer to CiA
DS-102 standard.
Example 3. The usage of the termination resistor (TR) in a conventional bus. The maximum
recommended bus length is directly dependent on the bus speed. In theory, the maximum
length with the maximum speed can be up to 40 meters. If the bus speed is lower, the length
can be extended. The maximum length of the bus depends on the bus speed. For more
information about the bus speeds, refer to CiA DS-102 standard.

Other manuals for Epec 5050

Related product manuals