EasyManua.ls Logo

Epec 5050 - Page 86

Epec 5050
92 pages
Print Icon
To Next Page IconTo Next Page
To Next Page IconTo Next Page
To Previous Page IconTo Previous Page
To Previous Page IconTo Previous Page
Loading...
5050 CONTROL UNIT
Technical Manual & Cabling Instructions
86 / 92
19.10.2012
5050 / MAN000539
Epec Oy reserves all rights for improvements without prior notice
Epec Oy Postiosoite/Postal address Puhelin/Phone Fax Internet
Tiedekatu 6 PL/P.O.Box 194 +358-(0)20-7608 111 +358-(0)20-7608 110 www.epec.fi
FIN-60320 Seinäjoki FIN-60101 Seinäjoki, Finland
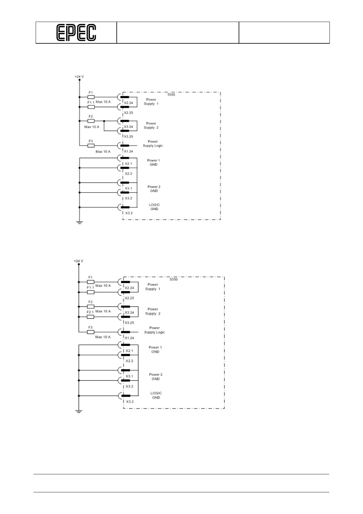
Power supply's wiring example when max 14 A is needed from Power 1 and max 10 A from
Power 2:
Power supply's wiring example when max 14 A is needed from Power 1 and max 14 A from
Power 2:

Other manuals for Epec 5050

Related product manuals