EasyManua.ls Logo

Festo MPA-FB-VI - Page 186

Festo MPA-FB-VI
218 pages
Print Icon
To Next Page IconTo Next Page
To Next Page IconTo Next Page
To Previous Page IconTo Previous Page
To Previous Page IconTo Previous Page
Loading...
A. Technical appendix
A-14
Festo P .BE-MPA-EN en 1108e
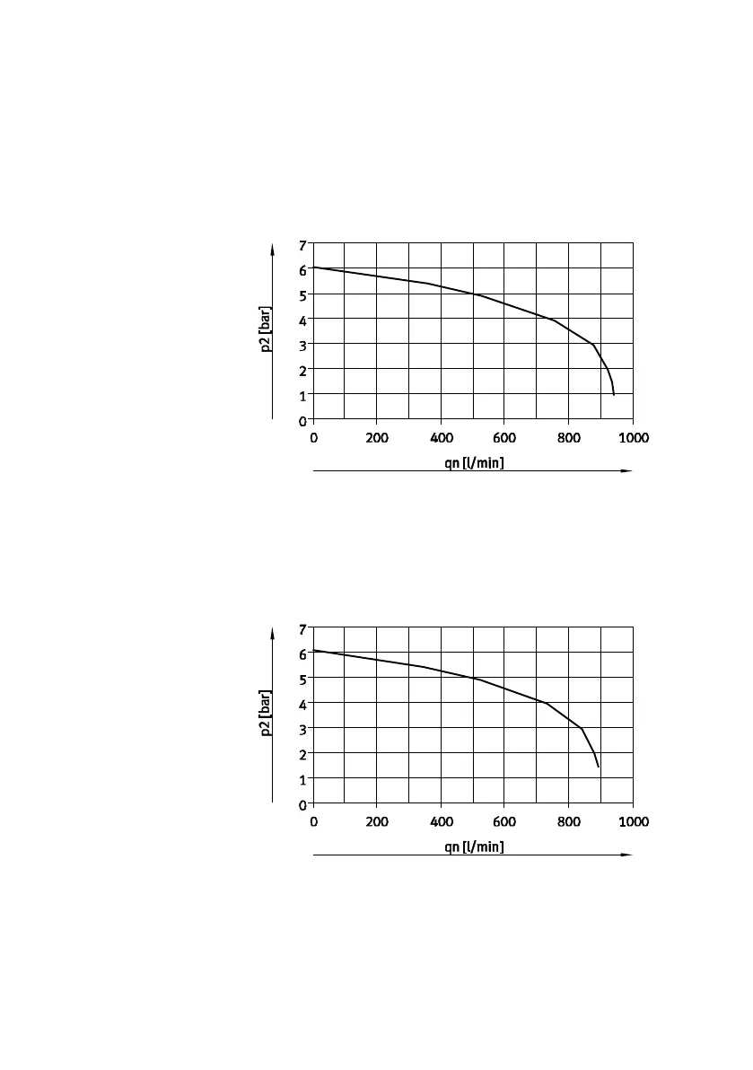
B pressure regulating valve MPA2
1 Output pressure
2 Flow rate
1
2
Fig. A/8: Diagram for size MPA2 of the B pressure regulator (ident. code: PH and PC):
Flow rate dependent on output pressure
A pressure regulating valve MPA2
1 Output pressure
2 Flow rate
1
2
Fig. A/9: Diagram for size MPA2 of the A pressure regulator (ident. code: PG and PB):
Flow rate dependent on output pressure

Table of Contents

Related product manuals