EasyManua.ls Logo

Fire-Lite MS-9200UDLS - ANN-LED Annunciator Module

Fire-Lite MS-9200UDLS
232 pages
Print Icon
To Next Page IconTo Next Page
To Next Page IconTo Next Page
To Previous Page IconTo Previous Page
To Previous Page IconTo Previous Page
Loading...
MS-9200UDLS/E/C Manual — P/N 52750:F 7/26/2010 35
Accessories Product Description
ANN-LED Annunciator Module
The ANN-LED and ANN-RLED annunciator modules provide LED annunciation of general sys-
tem faults and input zones/points when used with a compatible FACP. The ANN-LED module pro-
vides alarm (red), trouble (yellow) and supervisory (yellow) indication for up to ten input zones or
addressable points. The ANN-RLED provides alarm (red) indication for up to 30 input zones or
addressable points. Multiple ANN-(R)LED modules may be used for full system coverage.
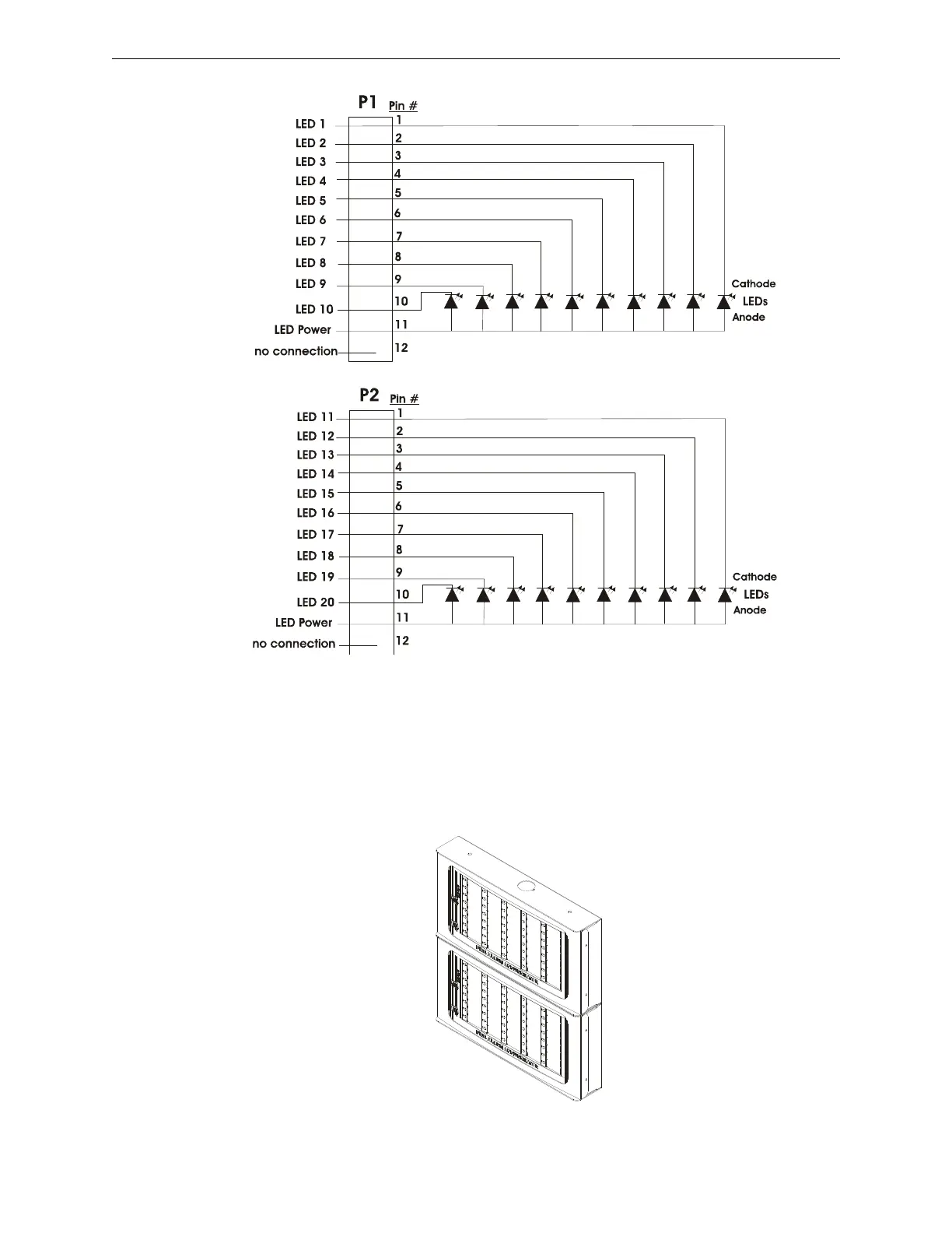
Figure 1.10 ANN-I/O LED Wiring
annI-Oleds.cdr
Figure 1.11 ANN-LEDs (shown in possible stacked configuration)
ann-ledstacked.wmf

Table of Contents

Other manuals for Fire-Lite MS-9200UDLS

Related product manuals