EasyManua.ls Logo

Frecon PV Series - Internal Wiring of Motor with Double Capacitors; Main and Secondary Winding of Motor; Resistor Starting Mode: Internal Wiring of Motor; Wiring between VFD and Motor

Frecon PV Series
49 pages
Print Icon
To Next Page IconTo Next Page
To Next Page IconTo Next Page
To Previous Page IconTo Previous Page
To Previous Page IconTo Previous Page
Loading...
PV series Solar Pumping Inverter
- 16 -
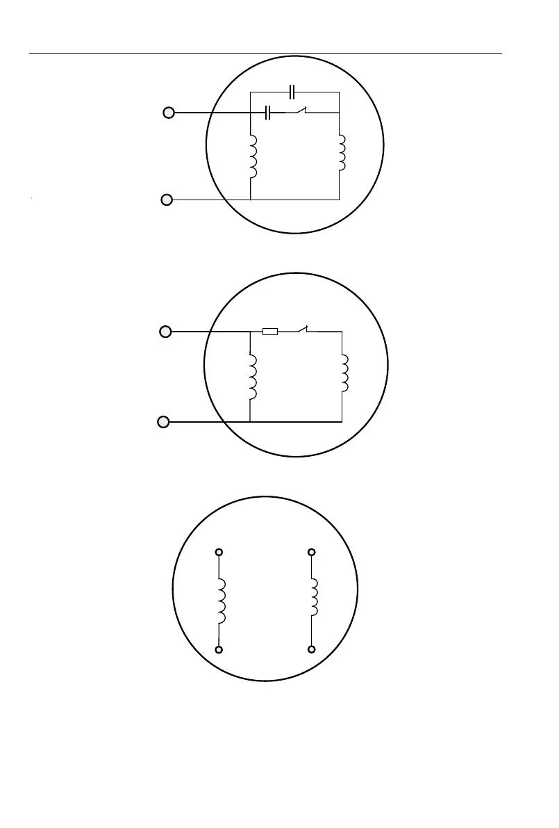
Main winding
Secondary
winding
Starting
capacitor
U1
U2
Z1
Z2
M
220VAC
Centrifugal
switch
Running
capacitor
Figure 2-8 Internal wiring of motor with double capacitors
Resistor starting mode single phase motor, and internal wiring is as below:
Main
winding
Secondary
winding
R
U1
U2
Z1
Z2
M
220VAC
Centrifugal
switch
Figure 2-9 Resistor starting mode: Internal wiring of motor
We can remove capacitors from above motors, and remaining 4 main and secondary winding
terminals as below:
Main winding
Secondary
winding
U1
U2
Z1
Z2
M
Figure 2-10 Main and secondary winding of motor
2.3.2 Wiring between VFD and motor
Connect main and secondary winding of motor to inverter UVW, then inverter can work. But due
to the motor winding difference, motor forward wiring must be as below, if not cause motor too heat

Table of Contents

Related product manuals