EasyManua.ls Logo

GE P444 - Confirmation; Directional Decision; Directional Determination Using Superimposed Values

GE P444
622 pages
Print Icon
To Next Page IconTo Next Page
To Next Page IconTo Next Page
To Previous Page IconTo Previous Page
To Previous Page IconTo Previous Page
Loading...
P
44x/EN AP/Hb6
Application Notes
(AP) 5
-20 MiCOM P40 Agile
P442, P444
2.2.3 Confirmation
To eliminate the transitions generated by possible operations or by high frequencies, the
transition detected over a succession of three sampled values is confirmed by checking for
at least one loop for which the two following conditions are met:
V > threshold V, where threshold V = 0.1 Un /3 = 0.1 Vn
and
I > threshold l, where threshold I = 0.2 In.
The start-up of the high-speed algorithms are confirmed if U AND I are detected on three
consecutive samples.
If Load Blinder feature is enabled, The V > threshold V will change depending on “Load
Blinder V<” setting. Refer to section 4.2 Load blinding (load avoidance)
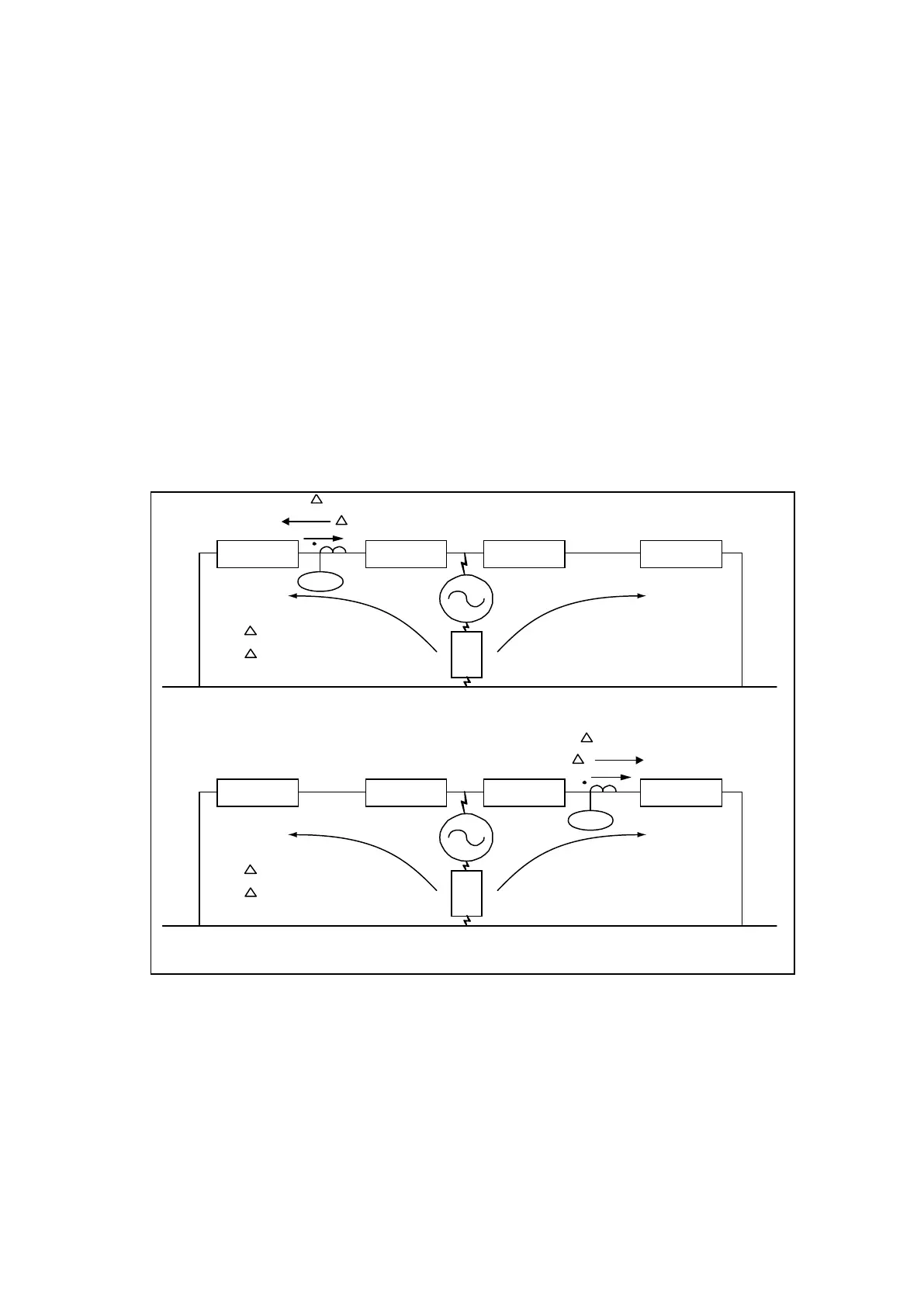
2.2.4 Directional Decision
The "Delta" detection of the fault direction is determined from the sign of the energy per
phase for the transition values characterising the fault.
Relay
Z
L
Z
S
Z
L
Z
R
Reverse Fault
P3035ENa
-V
F
R
F
Voltage at Relay Location
Current at Relay Location
=
=
V
R
R
I
V
R
R
I
R
Relay
Z
L
Z
S
Z
L
Z
R
Forward Fault
-V
F
R
F
Voltage at Relay Location
Current at Relay Location
=
=
V
R
R
I
V
R
F
I
R
Figure 6: Directional determination using superimposed values
To do this, the following sum per phase is calculated:
SA =
)
I.V
(
5
n0
ni
n0
AAN
ii
+
SB =
)
I.V(
5
n0
ni
n0
BBN i
i
+
SC =
)
I.V(
5
n0
ni
n0
CCN
ii
+
where no is the instant at which the fault is detected, ni is the instant of the calculation and S
is the calculated transition energy.
If the fault is in the forward direction, then S i <0 (i = A, B or C phase).
If the fault is in the reverse direction, then S i >0.
The directional criterion is valid if

Table of Contents

Related product manuals